DEHNbloc Maxi

  • Gekapselte RADAX-Flow-Funkenstrecke mit hoher Folgestrombegrenzung
  • Ausschaltselektiv zu 35 A gG-Sicherungen bis 50 kAeff Kurzschlussstrom
  • Hohes Blitzstrom-Ableitvermögen
  • Ohne zusätzliche Leitungslänge auf Überspannungs-Schutzgerät DEHNguard ... bzw. V(A) NH ... direkt koordiniert
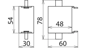
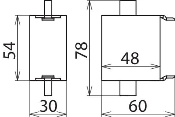
  • In NH-Bauform Größe 00
  • Tiefer Schutzpegel

Details

lorem ipsum

DEHNbloc Maxi NH00 255

Koordinierter, einpoliger Blitzstrom-Ableiter in NH-Bauform Größe 00 für TN-C und TN-S-Systeme mit 230 / 400 V Nennspannung.

1 Product

Part No. 900255 DBM NH00 255

GTIN 4013364125773, Customs tariff No. (EU): 85363090, Gross weight: 208.00 g, PU: 1.00 Stk.

Predecessor

Images

Additional information

Koordinierter Blitzstrom-Ableiter DEHNbloc Maxi NH00 255
1-poliger, koordinierter Blitzstrom-Ableiter
in NH-Bauform Größe 00 mit hoher
Folgestrombegrenzung
Ableiter Typ 1 nach EN 61643-11
RADAX-Flow-Funkenstrecken-Technologie
zur Folgestrombegrenzung
Höchste Dauerspannung: 255 V ac
Schutzpegel: <= 2,5 kV
Blitzstoßstrom (10/350): 25 kA
Folgestromlöschfähigkeit: bis 100 kAeff.
Energetische Koordination nach
DIN EN 62305-4 Ableiter der Red/Line-Familie

Fabrikat: DEHN
Typ: DBM NH00 255
Art.-Nr.: 900255
oder gleichwertig.

Certificates

 

Wave breaker function

In the case of spark-gap-based type 1 arresters, the entire current flows through the type 1 arrester during the discharge process. Like a wave breaker, the incoming energy is greatly broken down, which significantly relieves the downstream SPDs. All type 1 arresters in the Red/Line product range feature the WBF wave breaker function.

Technical data

SPD nach EN 61643-11 / ... IEC 61643-11 Typ 1 / Class I
Höchste Dauerspannung AC (UC ) 255 V (50 / 60 Hz)
Blitzstoßstrom (10/350 µs) (Iimp ) 25 kA
Schutzpegel (UP ) ≤ 2,5 kV
Max. Vorsicherung (L) bis IK = 50 kAeff 315 A gG

Product 900255 was added to Notepad.

Product 900255 was added to the cart.


back to top