Air-Termination Rods / Tips

For protecting roof-mounted structures, chimneys, etc., also for erection with concrete base.
Additional fasteners, e.g. DEHNiso spacers, are necessary depending on the gust wind speed.

Note: Permissible roof loads have to be considered and checked with the constructor where required.

Diameter 10 mm, chamfered

Especially for concrete base (8.5 kg) with fixing wedge (Part No. 102 075) or for fixing using conductor holders.

3 Products

Part No. 101000 FS 10 1000 AL

GTIN 4013364094505, Customs tariff No. (EU): 85389099, Gross weight: 212.00 g, PU: 20.00 pc(s)

Predecessor

Images

Additional information

Air-termination rod, diameter: 10 mm, total length: 1000 mm, Al
Air-termination rod for protecting roof-mounted structures
Can be fixed in a concrete base with fixing wedge (8.5 kg) (Part No. 102 075) or
by means of conductor holders.
Total length: 1000 mm
Material: AlMgSi
Diameter Ø: 10 mm
Standard: EN 62561-2

Brand: DEHN
Type: FS 10 1000 AL
Part No.: 101000
or equivalent.

Certificates

 

Technical data

Total length (l1) 1000 mm
Material AlMgSi
Diameter Ø 10 mm
Standard EN 62561-2

Product 101000 was added to Notepad.

Product 101000 was added to the cart.

Part No. 101009 FS 10 1000 V2A

GTIN 4013364128699, Customs tariff No. (EU): 85389099, Gross weight: 600.00 g, PU: 20.00 pc(s)


Images

Additional information

Air-termination rod, diameter: 10 mm, total length: 1000 mm, StSt
Air-termination rod for protecting roof-mounted structures
Can be fixed in a concrete base with fixing wedge (8.5 kg) (Part No. 102 075) or
by means of conductor holders.
Total length: 1000 mm
Material: StSt
Diameter Ø: 10 mm
Standard: EN 62561-2

Brand: DEHN
Type: FS 10 1000 V2A
Part No.: 101009
or equivalent.

Certificates

 

Technical data

Total length (l1) 1000 mm
Material StSt
Diameter Ø 10 mm
Standard EN 62561-2

Product 101009 was added to Notepad.

Product 101009 was added to the cart.

Part No. 101007 FS 10 1000 CU

GTIN 4013364128705, Customs tariff No. (EU): 85389099, Gross weight: 700.00 g, PU: 20.00 pc(s)

Predecessor

Images

Additional information

Air-termination rod, diameter: 10 mm, total length: 1000 mm, Cu
Air-termination rod for protecting roof-mounted structures
Can be fixed in a concrete base with fixing wedge (8.5 kg) (Part No. 102 075) or
by means of conductor holders.
Total length: 1000 mm
Material: Cu
Diameter Ø: 10 mm
Standard: EN 62561-2

Brand: DEHN
Type: FS 10 1000 CU
Part No.: 101007
or equivalent.

Certificates

 

Technical data

Total length (l1) 1000 mm
Material Cu
Diameter Ø 10 mm
Standard EN 62561-2

Product 101007 was added to Notepad.

Product 101007 was added to the cart.


Diameter 16 mm, chamfered

8 Products

Part No. 104150 FS 16 1500 AL

GTIN 4013364028487, Customs tariff No. (EU): 85389099, Gross weight: 820.00 g, PU: 10.00 pc(s)


Images

Additional information

Air-termination rod, diameter: 16 mm, total length: 1500 mm, AlMgSi
Air-termination rod for protecting roof-mounted structures, chimneys, etc.
Can be fixed in a concrete base
Total length: 1500 mm
Material: AlMgSi
Diameter Ø: 16 mm
Standard: EN 62561-2

Brand: DEHN
Type: FS 16 1500 AL
Part No.: 104150
or equivalent.

Certificates

 

Technical data

Total length (l1) 1500 mm
Material AlMgSi
Diameter Ø 16 mm
Standard EN 62561-2

Product 104150 was added to Notepad.

Product 104150 was added to the cart.

Part No. 104200 FS 16 2000 AL

GTIN 4013364056343, Customs tariff No. (EU): 85389099, Gross weight: 1.08 kg, PU: 10.00 pc(s)


Images

Additional information

Air-termination rod, diameter: 16 mm, total length: 2000 mm, AlMgSi
Air-termination rod for protecting roof-mounted structures, chimneys, etc.
Can be fixed in a concrete base
Total length: 2000 mm
Material: AlMgSi
Diameter Ø: 16 mm
Standard: EN 62561-2

Brand: DEHN
Type: FS 16 2000 AL
Part No.: 104200
or equivalent.

Certificates

 

Technical data

Total length (l1) 2000 mm
Material AlMgSi
Diameter Ø 16 mm
Standard EN 62561-2

Product 104200 was added to Notepad.

Product 104200 was added to the cart.

Part No. 104250 FS 16 2500 AL

GTIN 4013364056350, Customs tariff No. (EU): 85389099, Gross weight: 1.40 kg, PU: 10.00 pc(s)


Images

Additional information

Air-termination rod, diameter: 16 mm, total length: 2500 mm, AlMgSi
Air-termination rod for protecting roof-mounted structures, chimneys, etc.
Can be fixed in a concrete base
Total length: 2500 mm
Material: AlMgSi
Diameter Ø: 16 mm
Standard: EN 62561-2

Brand: DEHN
Type: FS 16 2500 AL
Part No.: 104250
or equivalent.

Certificates

 

Technical data

Total length (l1) 2500 mm
Material AlMgSi
Diameter Ø 16 mm
Standard EN 62561-2

Product 104250 was added to Notepad.

Product 104250 was added to the cart.

Part No. 104300 FS 16 3000 AL

GTIN 4013364056367, Customs tariff No. (EU): 85389099, Gross weight: 1.68 kg, PU: 10.00 pc(s)


Images

Additional information

Air-termination rod, diameter: 16 mm, total length: 3000 mm, AlMgSi
Air-termination rod for protecting roof-mounted structures, chimneys, etc.
Can be fixed in a concrete base
Total length: 3000 mm
Material: AlMgSi
Diameter Ø: 16 mm
Standard: EN 62561-2

Brand: DEHN
Type: FS 16 3000 AL
Part No.: 104300
or equivalent.

Certificates

 

Technical data

Total length (l1) 3000 mm
Material AlMgSi
Diameter Ø 16 mm
Standard EN 62561-2

Product 104300 was added to Notepad.

Product 104300 was added to the cart.

Part No. 483100 FS 16 1000 STTZN

GTIN 4013364019430, Customs tariff No. (EU): 85389099, Gross weight: 1.60 kg, PU: 10.00 pc(s)


Images

Additional information

Air-termination rod, diameter: 16 mm, total length: 1000 mm, St/tZn
Air-termination rod for protecting roof-mounted structures, chimneys, etc.
Can be fixed in a concrete base
Total length: 1000 mm
Material: St/tZn
Diameter Ø: 16 mm
Standard: EN 62561-2

Brand: DEHN
Type: FS 16 1000 STTZN
Part No.: 483100
or equivalent.

Certificates

 

Technical data

Total length (l1) 1000 mm
Material St/tZn
Diameter Ø 16 mm
Standard EN 62561-2

Product 483100 was added to Notepad.

Product 483100 was added to the cart.

Part No. 483125 FS 16 1250 STTZN

GTIN 4013364019416, Customs tariff No. (EU): 85389099, Gross weight: 2.00 kg, PU: 10.00 pc(s)


Images

Additional information

Air-termination rod, diameter: 16 mm, total length: 1250 mm, St/tZn
Air-termination rod for protecting roof-mounted structures, chimneys, etc.
Can be fixed in a concrete base
Total length: 1250 mm
Material: St/tZn
Diameter Ø: 16 mm
Standard: EN 62561-2

Brand: DEHN
Type: FS 16 1250 STTZN
Part No.: 483125
or equivalent.

Certificates

 

Technical data

Total length (l1) 1250 mm
Material St/tZn
Diameter Ø 16 mm
Standard EN 62561-2

Product 483125 was added to Notepad.

Product 483125 was added to the cart.

Part No. 483150 FS 16 1500 STTZN

GTIN 4013364019492, Customs tariff No. (EU): 85389099, Gross weight: 2.40 kg, PU: 10.00 pc(s)


Images

Additional information

Air-termination rod, diameter: 16 mm, total length: 1500 mm, St/tZn
Air-termination rod for protecting roof-mounted structures, chimneys, etc.
Can be fixed in a concrete base
Can be used as earth entry rods for connecting the down conductors to the
earth-termination system
Total length: 1500 mm
Material: St/tZn
Diameter Ø: 16 mm
Standard: EN 62561-2

Brand: DEHN
Type: FS 16 1500 STTZN
Part No.: 483150
or equivalent.

Certificates

 

Technical data

Total length (l1) 1500 mm
Material St/tZn
Diameter Ø 16 mm
Standard EN 62561-2

Product 483150 was added to Notepad.

Product 483150 was added to the cart.

Part No. 483200 FS 16 2000 STTZN

GTIN 4013364019713, Customs tariff No. (EU): 72149939, Gross weight: 3.00 kg, PU: 1.00 pc(s)


Images

Additional information

Air-termination rod, diameter: 16 mm, total length: 2000 mm, St/tZn
Air-termination rod for protecting roof-mounted structures, chimneys, etc.
Can be fixed in a concrete base
Can be used as earth entry rods for connecting the down conductors to the
earth-termination system
Total length: 2000 mm
Material: St/tZn
Diameter Ø: 16 mm
Standard: EN 62561-2

Brand: DEHN
Type: FS 16 2000 STTZN
Part No.: 483200
or equivalent.

Certificates

 

Technical data

Total length (l1) 2000 mm
Material St/tZn
Diameter Ø 16 mm
Standard EN 62561-2

Product 483200 was added to Notepad.

Product 483200 was added to the cart.


With tapering, chamfered

Length of tapering 1000 mm.

7 Products

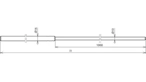
Part No. 103210 FS 16 10 1500 AL

GTIN 4013364066311, Customs tariff No. (EU): 85389099, Gross weight: 480.00 g, PU: 10.00 pc(s)


Images

Additional information

Air-termination rod, tapered 16/10 mm, total length: 1500 mm, AlMgSi
Air-termination rod for protecting roof-mounted structures, chimneys, etc.
Can be fixed in a concrete base
Total length: 1500 mm
Material: AlMgSi
Diameter Ø: 16 / 10 mm
Type: chamfered
Standard: EN 62561-2

Brand: DEHN
Type: FS 16 10 1500 AL
Part No.: 103210
or equivalent.

Certificates

 

Technical data

Total length (l1) 1500 mm
Material AlMgSi
Diameter Ø 16 / 10 mm
Type chamfered
Standard EN 62561-2

Product 103210 was added to Notepad.

Product 103210 was added to the cart.

Part No. 103220 FS 16 10 2000 AL

GTIN 4013364066328, Customs tariff No. (EU): 85389099, Gross weight: 760.00 g, PU: 10.00 pc(s)


Images

Additional information

Air-termination rod, tapered 16/10 mm, total length: 2000 mm, AlMgSi
Air-termination rod for protecting roof-mounted structures, chimneys, etc.
Can be fixed in a concrete base
Total length: 2000 mm
Material: AlMgSi
Diameter Ø: 16 / 10 mm
Type: chamfered
Standard: EN 62561-2

Brand: DEHN
Type: FS 16 10 2000 AL
Part No.: 103220
or equivalent.

Certificates

 

Technical data

Total length (l1) 2000 mm
Material AlMgSi
Diameter Ø 16 / 10 mm
Type chamfered
Standard EN 62561-2

Product 103220 was added to Notepad.

Product 103220 was added to the cart.

Part No. 103230 FS 16 10 2500 AL

GTIN 4013364066335, Customs tariff No. (EU): 85389099, Gross weight: 1.02 kg, PU: 10.00 pc(s)


Images

Additional information

Air-termination rod, tapered 16/10 mm, total length: 2500 mm, AlMgSi
Air-termination rod for protecting roof-mounted structures, chimneys, etc.
Can be fixed in a concrete base
Total length: 2500 mm
Material: AlMgSi
Diameter Ø: 16 / 10 mm
Type: chamfered
Standard: EN 62561-2

Brand: DEHN
Type: FS 16 10 2500 AL
Part No.: 103230
or equivalent.

Certificates

 

Technical data

Total length (l1) 2500 mm
Material AlMgSi
Diameter Ø 16 / 10 mm
Type chamfered
Standard EN 62561-2

Product 103230 was added to Notepad.

Product 103230 was added to the cart.

Part No. 103240 FS 16 10 3000 AL

GTIN 4013364066342, Customs tariff No. (EU): 85389099, Gross weight: 1.30 kg, PU: 10.00 pc(s)


Images

Additional information

Air-termination rod, tapered 16/10 mm, total length: 3000 mm, AlMgSi
Air-termination rod for protecting roof-mounted structures, chimneys, etc.
Can be fixed in a concrete base
Total length: 3000 mm
Material: AlMgSi
Diameter Ø: 16 / 10 mm
Type: chamfered
Standard: EN 62561-2

Brand: DEHN
Type: FS 16 10 3000 AL
Part No.: 103240
or equivalent.

Certificates

 

Technical data

Total length (l1) 3000 mm
Material AlMgSi
Diameter Ø 16 / 10 mm
Type chamfered
Standard EN 62561-2

Product 103240 was added to Notepad.

Product 103240 was added to the cart.

Part No. 103250 FS 16 10 3500 AL

GTIN 4013364093485, Customs tariff No. (EU): 85389099, Gross weight: 1.52 kg, PU: 10.00 pc(s)


Images

Additional information

Air-termination rod, tapered 16/10 mm, total length: 3500 mm, AlMgSi
Air-termination rod for protecting roof-mounted structures, chimneys, etc.
Can be fixed in a concrete base
Total length: 3500 mm
Material: AlMgSi
Diameter Ø: 16 / 10 mm
Type: chamfered
Standard: EN 62561-2

Brand: DEHN
Type: FS 16 10 3500 AL
Part No.: 103250
or equivalent.

Certificates

 

Technical data

Total length (l1) 3500 mm
Material AlMgSi
Diameter Ø 16 / 10 mm
Type chamfered
Standard EN 62561-2

Product 103250 was added to Notepad.

Product 103250 was added to the cart.

Part No. 103260 FS 16 10 4000 AL

GTIN 4013364093492, Customs tariff No. (EU): 85389099, Gross weight: 1.85 kg, PU: 10.00 pc(s)


Images

Additional information

Air-termination rod, tapered 16/10 mm, total length: 4000 mm, AlMgSi
Air-termination rod for protecting roof-mounted structures, chimneys, etc.
Can be fixed in a concrete base
Total length: 4000 mm
Material: AlMgSi
Diameter Ø: 16 / 10 mm
Type: chamfered
Standard: EN 62561-2

Brand: DEHN
Type: FS 16 10 4000 AL
Part No.: 103260
or equivalent.

Certificates

 

Technical data

Total length (l1) 4000 mm
Material AlMgSi
Diameter Ø 16 / 10 mm
Type chamfered
Standard EN 62561-2

Product 103260 was added to Notepad.

Product 103260 was added to the cart.

Part No. 103280 FS 16 10 5000 AL

GTIN 4013364093508, Customs tariff No. (EU): 85389099, Gross weight: 2.40 kg, PU: 10.00 pc(s)


Images

Additional information

Air-termination rod, tapered 16/10 mm, total length: 5000 mm, AlMgSi
Air-termination rod for protecting roof-mounted structures, chimneys, etc.
Can be fixed in a concrete base
Total length: 5000 mm
Material: AlMgSi
Diameter Ø: 16 / 10 mm
Type: chamfered
Standard: EN 62561-2

Brand: DEHN
Type: FS 16 10 5000 AL
Part No.: 103280
or equivalent.

Certificates

 

Technical data

Total length (l1) 5000 mm
Material AlMgSi
Diameter Ø 16 / 10 mm
Type chamfered
Standard EN 62561-2

Product 103280 was added to Notepad.

Product 103280 was added to the cart.


With tapering, M16 thread

Length of tapering 1000 mm.

6 Products

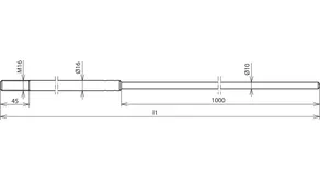
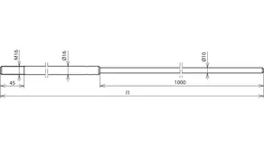
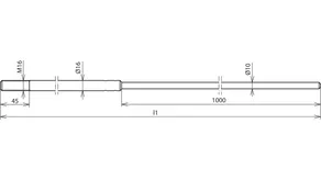
Part No. 103211 FS M16 10 1500 AL

GTIN 4013364078529, Customs tariff No. (EU): 85389099, Gross weight: 480.00 g, PU: 10.00 pc(s)

Predecessor

Images

Additional information

Air-termination rod, tapered 16/10 mm, M16, total length: 1500 mm, AlMgSi
Air-termination rod for protecting roof-mounted structures
Can be fixed in concrete bases with M16 threaded adapter

Total length: 1500 mm
Material: AlMgSi
Diameter Ø: 16 / 10 mm
Type: M16
Standard: EN 62561-2

Brand: DEHN
Type: FS M16 10 1500 AL
Part No.: 103211
or equivalent.

Certificates

 

Technical data

Total length (l1) 1500 mm
Material AlMgSi
Diameter Ø 16 / 10 mm
Type M16
Standard EN 62561-2

Product 103211 was added to Notepad.

Product 103211 was added to the cart.

Part No. 103221 FS M16 10 2000 AL

GTIN 4013364078536, Customs tariff No. (EU): 85389099, Gross weight: 760.00 g, PU: 10.00 pc(s)

Predecessor

Images

Additional information

Air-termination rod, tapered 16/10 mm, M16, total length: 2000 mm, AlMgSi
Air-termination rod for protecting roof-mounted structures
Can be fixed in concrete bases with M16 threaded adapter

Total length: 2000 mm
Material: AlMgSi
Diameter Ø: 16 / 10 mm
Type: M16
Standard: EN 62561-2

Brand: DEHN
Type: FS M16 10 2000 AL
Part No.: 103221
or equivalent.

Certificates

 

Technical data

Total length (l1) 2000 mm
Material AlMgSi
Diameter Ø 16 / 10 mm
Type M16
Standard EN 62561-2

Product 103221 was added to Notepad.

Product 103221 was added to the cart.

Part No. 103231 FS M16 10 2500 AL

GTIN 4013364078543, Customs tariff No. (EU): 85389099, Gross weight: 1.02 kg, PU: 10.00 pc(s)

Predecessor

Images

Additional information

Air-termination rod, tapered 16/10 mm, M16, total length: 2500 mm, AlMgSi
Air-termination rod for protecting roof-mounted structures
Can be fixed in concrete bases with M16 threaded adapter

Total length: 2500 mm
Material: AlMgSi
Diameter Ø: 16 / 10 mm
Type: M16
Standard: EN 62561-2

Brand: DEHN
Type: FS M16 10 2500 AL
Part No.: 103231
or equivalent.

Certificates

 

Technical data

Total length (l1) 2500 mm
Material AlMgSi
Diameter Ø 16 / 10 mm
Type M16
Standard EN 62561-2

Product 103231 was added to Notepad.

Product 103231 was added to the cart.

Part No. 103241 FS M16 10 3000 AL

GTIN 4013364081857, Customs tariff No. (EU): 85389099, Gross weight: 1.30 kg, PU: 10.00 pc(s)


Images

Additional information

Air-termination rod, tapered 16/10 mm, M16, total length: 3000 mm, AlMgSi
Air-termination rod for protecting roof-mounted structures
Can be fixed in concrete bases with M16 threaded adapter

Total length: 3000 mm
Material: AlMgSi
Diameter Ø: 16 / 10 mm
Type: M16
Standard: EN 62561-2

Brand: DEHN
Type: FS M16 10 3000 AL
Part No.: 103241
or equivalent.

Certificates

 

Technical data

Total length (l1) 3000 mm
Material AlMgSi
Diameter Ø 16 / 10 mm
Type M16
Standard EN 62561-2

Product 103241 was added to Notepad.

Product 103241 was added to the cart.

Part No. 103251 FS M16 10 3500 AL

GTIN 4013364093515, Customs tariff No. (EU): 85389099, Gross weight: 1.52 kg, PU: 10.00 pc(s)


Images

Additional information

Air-termination rod, tapered 16/10 mm, M16, total length: 3500 mm, AlMgSi
Air-termination rod for protecting roof-mounted structures
Can be fixed in concrete bases with M16 threaded adapter


Total length: 3500 mm
Material: AlMgSi
Diameter Ø: 16 / 10 mm
Type: M16
Standard: EN 62561-2

Brand: DEHN
Type: FS M16 10 3500 AL
Part No.: 103251
or equivalent.

Certificates

 

Technical data

Total length (l1) 3500 mm
Material AlMgSi
Diameter Ø 16 / 10 mm
Type M16
Standard EN 62561-2

Product 103251 was added to Notepad.

Product 103251 was added to the cart.

Part No. 103261 FS M16 10 4000 AL

GTIN 4013364093522, Customs tariff No. (EU): 85389099, Gross weight: 1.73 kg, PU: 10.00 pc(s)


Images

Additional information

Air-termination rod, tapered 16/10 mm, M16, total length: 4000 mm, AlMgSi
Air-termination rod for protecting roof-mounted structures
Can be fixed in concrete bases with M16 threaded adapter

Total length: 4000 mm
Material: AlMgSi
Diameter Ø: 16 / 10 mm
Type: M16
Standard: EN 62561-2

Brand: DEHN
Type: FS M16 10 4000 AL
Part No.: 103261
or equivalent.

Certificates

 

Technical data

Total length (l1) 4000 mm
Material AlMgSi
Diameter Ø 16 / 10 mm
Type M16
Standard EN 62561-2

Product 103261 was added to Notepad.

Product 103261 was added to the cart.


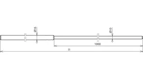
Tubular air-termination rods with tapering 16 / 10 mm

Light design; length of tapering 1000 mm.

12 Products

Part No. 103410 RFS 16 10 1500 AL

GTIN 4013364105775, Customs tariff No. (EU): 85389099, Gross weight: 360.00 g, PU: 10.00 pc(s)


Images

Additional information

Tubular air-termination rod, tapered 16/10 mm, total length: 1500 mm, AlMgSi
Tubular air-termination rods for protecting roof-mounted structures
Can also be fixed in concrete bases
Light design
Total length: 1500 mm
Material: AlMgSi
Diameter Ø: 16 / 10 mm
Standard: EN 62561-2

Brand: DEHN
Type: RFS 16 10 1500 AL
Part No.: 103410
or equivalent.

Certificates

 

Technical data

Total length (l1) 1500 mm
Material AlMgSi
Diameter Ø 16 / 10 mm
Standard EN 62561-2

Product 103410 was added to Notepad.

Product 103410 was added to the cart.

Part No. 103420 RFS 16 10 2000 AL

GTIN 4013364105782, Customs tariff No. (EU): 85389099, Gross weight: 500.00 g, PU: 10.00 pc(s)


Images

Additional information

Tubular air-termination rod, tapered 16/10 mm, total length: 2000 mm, AlMgSi
Tubular air-termination rods for protecting roof-mounted structures
Can also be fixed in concrete bases
Light design
Total length: 2000 mm
Material: AlMgSi
Diameter Ø: 16 / 10 mm
Standard: EN 62561-2

Brand: DEHN
Type: RFS 16 10 2000 AL
Part No.: 103420
or equivalent.

Certificates

 

Technical data

Total length (l1) 2000 mm
Material AlMgSi
Diameter Ø 16 / 10 mm
Standard EN 62561-2

Product 103420 was added to Notepad.

Product 103420 was added to the cart.

Part No. 103430 RFS 16 10 2500 AL

GTIN 4013364105799, Customs tariff No. (EU): 85389099, Gross weight: 570.00 g, PU: 10.00 pc(s)


Images

Additional information

Tubular air-termination rod, tapered 16/10 mm, total length: 2500 mm, AlMgSi
Tubular air-termination rods for protecting roof-mounted structures
Can also be fixed in concrete bases
Light design
Total length: 2500 mm
Material: AlMgSi
Diameter Ø: 16 / 10 mm
Standard: EN 62561-2

Brand: DEHN
Type: RFS 16 10 2500 AL
Part No.: 103430
or equivalent.

Certificates

 

Technical data

Total length (l1) 2500 mm
Material AlMgSi
Diameter Ø 16 / 10 mm
Standard EN 62561-2

Product 103430 was added to Notepad.

Product 103430 was added to the cart.

Part No. 103440 RFS 16 10 3000 AL

GTIN 4013364105805, Customs tariff No. (EU): 85389099, Gross weight: 800.00 g, PU: 10.00 pc(s)


Images

Additional information

Tubular air-termination rod, tapered 16/10 mm, total length: 3000 mm, AlMgSi
Tubular air-termination rods for protecting roof-mounted structures
Can also be fixed in concrete bases
Light design
Total length: 3000 mm
Material: AlMgSi
Diameter Ø: 16 / 10 mm
Standard: EN 62561-2

Brand: DEHN
Type: RFS 16 10 3000 AL
Part No.: 103440
or equivalent.

Certificates

 

Technical data

Total length (l1) 3000 mm
Material AlMgSi
Diameter Ø 16 / 10 mm
Standard EN 62561-2

Product 103440 was added to Notepad.

Product 103440 was added to the cart.

Part No. 103450 RFS 16 10 3500 AL

GTIN 4013364105812, Customs tariff No. (EU): 85389099, Gross weight: 900.00 g, PU: 10.00 pc(s)


Images

Additional information

Tubular air-termination rod, tapered 16/10 mm, total length: 3500 mm, AlMgSi
Tubular air-termination rods for protecting roof-mounted structures
Can also be fixed in concrete bases
Light design
Total length: 3500 mm
Material: AlMgSi
Diameter Ø: 16 / 10 mm
Standard: EN 62561-2

Brand: DEHN
Type: RFS 16 10 3500 AL
Part No.: 103450
or equivalent.

Certificates

 

Technical data

Total length (l1) 3500 mm
Material AlMgSi
Diameter Ø 16 / 10 mm
Standard EN 62561-2

Product 103450 was added to Notepad.

Product 103450 was added to the cart.

Part No. 103460 RFS 16 10 4000 AL

GTIN 4013364105829, Customs tariff No. (EU): 85389099, Gross weight: 1.10 kg, PU: 10.00 pc(s)


Images

Additional information

Tubular air-termination rod, tapered 16/10 mm, total length: 4000 mm, AlMgSi
Tubular air-termination rods for protecting roof-mounted structures
Can also be fixed in concrete bases
Light design
Total length: 4000 mm
Material: AlMgSi
Diameter Ø: 16 / 10 mm
Standard: EN 62561-2

Brand: DEHN
Type: RFS 16 10 4000 AL
Part No.: 103460
or equivalent.

Certificates

 

Technical data

Total length (l1) 4000 mm
Material AlMgSi
Diameter Ø 16 / 10 mm
Standard EN 62561-2

Product 103460 was added to Notepad.

Product 103460 was added to the cart.

Part No. 103480 RFS 16 10 5000 AL

GTIN 4013364105836, Customs tariff No. (EU): 85389099, Gross weight: 1.30 kg, PU: 10.00 pc(s)


Images

Additional information

Tubular air-termination rod, tapered 16/10 mm, total length: 5000 mm, AlMgSi
Tubular air-termination rods for protecting roof-mounted structures
Can also be fixed in concrete bases
Light design
Total length: 5000 mm
Material: AlMgSi
Diameter Ø: 16 / 10 mm
Standard: EN 62561-2

Brand: DEHN
Type: RFS 16 10 5000 AL
Part No.: 103480
or equivalent.

Certificates

 

Technical data

Total length (l1) 5000 mm
Material AlMgSi
Diameter Ø 16 / 10 mm
Standard EN 62561-2

Product 103480 was added to Notepad.

Product 103480 was added to the cart.

Part No. 103417 RFS 16 10 1500 CU

GTIN 4013364128682, Customs tariff No. (EU): 85389099, Gross weight: 1.20 kg, PU: 10.00 pc(s)

Predecessor

Images

Additional information

Tubular air-termination rod, tapered 16/10 mm, total length: 3500 mm, AlMgSi
Tubular air-termination rods for protecting roof-mounted structures
Can also be fixed in concrete bases
Light design
Total length: 1500 mm
Material: Cu
Diameter Ø: 16 / 10 mm
Standard: EN 62561-2

Brand: DEHN
Type: RFS 16 10 1500 CU
Part No.: 103417
or equivalent.

Certificates

 

Technical data

Total length (l1) 1500 mm
Material Cu
Diameter Ø 16 / 10 mm
Standard EN 62561-2

Product 103417 was added to Notepad.

Product 103417 was added to the cart.

Part No. 103419 RFS 16 10 1500 V2A

GTIN 4013364128651, Customs tariff No. (EU): 85389099, Gross weight: 1.10 kg, PU: 10.00 pc(s)


Images

Additional information

Tubular air-termination rod, tapered 16/10 mm, total length: 1500 mm, StSt
Tubular air-termination rods for protecting roof-mounted structures
Can also be fixed in concrete bases
Light design
Total length: 1500 mm
Material: StSt
Diameter Ø: 16 / 10 mm
Standard: EN 62561-2

Brand: DEHN
Type: RFS 16 10 1500 V2A
Part No.: 103419
or equivalent.

Certificates

 

Technical data

Total length (l1) 1500 mm
Material StSt
Diameter Ø 16 / 10 mm
Standard EN 62561-2

Product 103419 was added to Notepad.

Product 103419 was added to the cart.

Part No. 103429 RFS 16 10 2000 V2A

GTIN 4013364128668, Customs tariff No. (EU): 85389099, Gross weight: 1.60 kg, PU: 10.00 pc(s)


Images

Additional information

Tubular air-termination rod, tapered 16/10 mm, total length: 2000 mm, StSt
Tubular air-termination rods for protecting roof-mounted structures
Can also be fixed in concrete bases
Light design
Total length: 2000 mm
Material: StSt
Diameter Ø: 16 / 10 mm
Standard: EN 62561-2

Brand: DEHN
Type: RFS 16 10 2000 V2A
Part No.: 103429
or equivalent.

Certificates

 

Technical data

Total length (l1) 2000 mm
Material StSt
Diameter Ø 16 / 10 mm
Standard EN 62561-2

Product 103429 was added to Notepad.

Product 103429 was added to the cart.

Part No. 103439 RFS 16 10 2500 V2A

GTIN 4013364128675, Customs tariff No. (EU): 85389099, Gross weight: 2.05 kg, PU: 10.00 pc(s)


Images

Additional information

Tubular air-termination rod, tapered 16/10 mm, total length: 2500 mm, StSt
Tubular air-termination rods for protecting roof-mounted structures
Can also be fixed in concrete bases
Light design
Total length: 2500 mm
Material: StSt
Diameter Ø: 16 / 10 mm
Standard: EN 62561-2

Brand: DEHN
Type: RFS 16 10 2500 V2A
Part No.: 103439
or equivalent.

Certificates

 

Technical data

Total length (l1) 2500 mm
Material StSt
Diameter Ø 16 / 10 mm
Standard EN 62561-2

Product 103439 was added to Notepad.

Product 103439 was added to the cart.

Part No. 103449 RFS 16 10 3000 V2A

GTIN 4013364128798, Customs tariff No. (EU): 85389099, Gross weight: 2.57 kg, PU: 10.00 pc(s)


Images

Additional information

Tubular air-termination rod, tapered 16/10 mm, total length: 3000 mm, StSt
Tubular air-termination rods for protecting roof-mounted structures
Can also be fixed in concrete bases
Light design
Total length: 3000 mm
Material: StSt
Diameter Ø: 16 / 10 mm
Standard: EN 62561-2

Brand: DEHN
Type: RFS 16 10 3000 V2A
Part No.: 103449
or equivalent.

Certificates

 

Technical data

Total length (l1) 3000 mm
Material StSt
Diameter Ø 16 / 10 mm
Standard EN 62561-2

Product 103449 was added to Notepad.

Product 103449 was added to the cart.


With forged lug

And clamping screw for connecting Rd 7-10 mm.

2 Products

Part No. 100100 FSS 16 1000 KS STTZN

GTIN 4013364019119, Customs tariff No. (EU): 85389099, Gross weight: 1.64 kg, PU: 10.00 pc(s)


Images

Additional information

Air-termination rod with forged lug, total length: 1000 mm, HDG steel
Air-termination rods for protecting roof-mounted structures, chimneys, etc.
Also for fixing to concrete bases.
Total length: 1000 mm
Material: St/tZn
Diameter Ø: 16 mm
Standard: EN 62561-(1+2)

Brand: DEHN
Type: FSS 16 1000 KS STTZN
Part No.: 100100
or equivalent.

Certificates

 

Technical data

Total length (l1) 1000 mm
Material St/tZn
Diameter Ø 16 mm
Terminal clamping range 7-10 mm
Standard EN 62561-(1+2)

Product 100100 was added to Notepad.

Product 100100 was added to the cart.

Part No. 100150 FSS 16 1500 KS STTZN

GTIN 4013364019140, Customs tariff No. (EU): 85389099, Gross weight: 2.44 kg, PU: 10.00 pc(s)


Images

Additional information

Air-termination rod with forged lug, total length: 1500 mm, St/tZn
Air-termination rod for protecting roof-mounted structures, chimneys, etc.
Can be fixed in concrete bases
Total length: 1500 mm
Material: St/tZn
Diameter Ø: 16 mm
Standard: EN 62561-(1+2)

Brand: DEHN
Type: FSS 16 1500 KS STTZN
Part No.: 100150
or equivalent.

Certificates

 

Technical data

Total length (l1) 1500 mm
Material St/tZn
Diameter Ø 16 mm
Terminal clamping range 7-10 mm
Standard EN 62561-(1+2)

Product 100150 was added to Notepad.

Product 100150 was added to the cart.


Diameter 16 mm, cut to length on site

1 Product

Part No. 104600 FS 16 6000 AL

GTIN 4013364076556, Customs tariff No. (EU): 76052100, Gross weight: 3.32 kg/Stk, PU: 1.00 pc(s)


Images

Additional information

Air-termination rod, diameter: 16 mm, total length: 6000 mm, AlMgSi
Air-termination rod for protecting roof-mounted structures, chamfered, cut to length
Total length: 6000 mm
Material: AlMgSi
Diameter Ø: 16 mm
Standard: EN 62561-2

Brand: DEHN
Type: FS 16 6000 AL
Part No.: 104600
or equivalent.

Certificates

 

Technical data

Total length (l1) 6000 mm
Material AlMgSi
Diameter Ø 16 mm
Standard EN 62561-2

Product 104600 was added to Notepad.

Product 104600 was added to the cart.


back to top