Tube support avec conducteur HVI power

Conducteur de descente isolé résistant aux hautes tensions pour le respect de la distance de séparation avec les parties électriquement conductrices selon NF EN 62305-3.
Utilisable jusqu'à une distance de séparation équivalente s ≤ 90 cm (dans l'air) ou s ≤ 180 cm (matériau solide).

Installation visuellement adaptée du conducteur HVI power dans un tube support avec surface réduite de prise au vent.

Veuillez indiquer la longueur du conducteur lors de la commande (longueur minimale 6 m, tranches de 0,5 m).
Du fait de sa fabrication sur commande (confectionné en fonction de la longueur désirée), ce conducteur ne peut pas être repris.

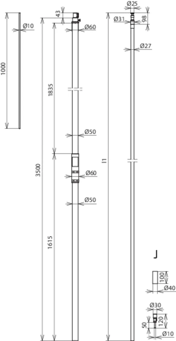
Conducteur HVI power dans le tube support avec pointe captrice

Tube support avec terminaison placée à l'intérieur et élément à ressort PA.
Pointe captrice en INOX Ø10 mm, longueur 1000 mm.

1 Product

Part No. 819430 HVI P 27 L6M SR3500 FSP1000 GFK V2A

GTIN 4013364152236, Customs tariff No. (EU): 85389099, Gross weight: 16.00 kg, PU: 1.00 pièce(s)


Images

Additional information

Tube support HVI Power avec point captrice, 3500 mm, PRV/INOX
Support avec terminaison placée à l'intérieur et élément à ressort EB
pour maintenir la distance de séparation des parties conductrices conformément à la norme NF EN 62305-3
Les tubes de support sont dimensionnés selon l'Eurocode 1 (DIN EN 1991-1-4 + DIN EN 1991-1-4/NA)
Isolation renforcé en fibre de verre (PRV)
Facteur matériel km = 0,7
Couleur gris clair, stabilisé aux UV
Combiné avec pointe captrice, Ø10 mm, longueur de 1000 mm
Matériau - tube support: PRV / INOX
Longueur - tube support: 3500 mm
Longueur de transport: 3500 mm
Diamètre Ø - conducteur: 27 mm
Couleur - conducteur: noir ●
Matériau - conducteur: Cu
Commande min. : 6 m
Commande max.: 35 m
Longueur libre max. avec pointe captrice (montage mural): 3500 mm
Vitesse du vent en rafales max.: (longueur libre max. 3500 mm, 1x HVI power intérieur) 234 km/h
Normes: IEC/TS 62561-8

produit : DEHN
Type: HVI P 27 L6M SR3500 FSP1000 GFK V2A
Référence: 819430
ou équivalent

Certificates

 

Technical data

Matériau - tube support PRV / INOX
Longueur - tube support 3500 mm
Longueur de transport 3500 mm
Diamètre Ø - conducteur 27 mm
Couleur - conducteur noir ●
Matériau - conducteur Cu
Commande min. 6 m
Commande max. 35 m
Approprié pour la pose en extérieur non
Longueur libre max. avec pointe captrice (montage mural) 3500 mm
Normes IEC/TS 62561-8

Product 819430 was added to Notepad.

Product 819430 was added to the cart.


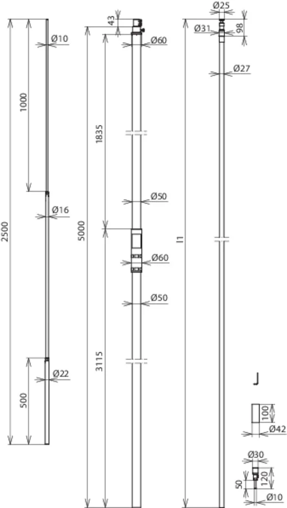
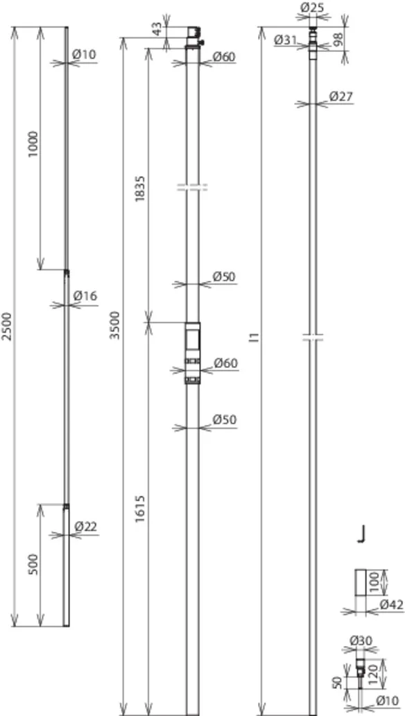
Conducteur HVI power dans le tube support avec pointe de capture

Tube support avec terminaison placée à l'intérieur et élément à ressort PA.
Pointe de capture en INOX Ø22 / 16 / 10 mm, longueur 2500 mm.

2 Products

Part No. 819431 HVI P 27 L6M SR3500 FS2500 GFK V2A

GTIN 4013364155442, Customs tariff No. (EU): 85389099, Gross weight: 17.60 kg, PU: 1.00 pièce(s)


Images

Additional information

Tube support HVI Power avec point de capture, 3500 mm, PRV/INOX
Support avec terminaison placée à l'intérieur et élément à ressort EB
pour maintenir la distance de séparation des parties conductrices conformément à la norme NF EN 62305-3
Les tubes de support sont dimensionnés selon l'Eurocode 1 (DIN EN 1991-1-4 + DIN EN 1991-1-4/NA)
Isolation renforcé en fibre de verre (PRV)
Facteur matériel km = 0,7
Couleur gris clair, stabilisé aux UV
Combiné avec pointe de capture, Ø22/16/10 mm, longueur de 2500 mm
Matériau - tube support: PRV / INOX
Longueur - tube support: 3500 mm
Longueur de transport: 3500 mm
Diamètre Ø - conducteur: 27 mm
Couleur - conducteur: noir ●
Matériau - conducteur: Cu
Commande min. : 6 m
Commande max.: 35 m
Longueur libre max. avec pointe de capture (montage mural): 5000 mm
Vitesse du vent en rafales max.: (longueur libre max. 5000 mm, 1x HVI power intérieur) 163 km/h
Normes: IEC/TS 62561-8

produit : DEHN
Type: HVI P 27 L6M SR3500 FS2500 GFK V2A
Référence: 819431
ou équivalent

Certificates

 

Technical data

Matériau - tube support PRV / INOX
Longueur - tube support 3500 mm
Longueur de transport 3500 mm
Diamètre Ø - conducteur 27 mm
Couleur - conducteur noir ●
Matériau - conducteur Cu
Commande min. 6 m
Commande max. 35 m
Approprié pour la pose en extérieur non
Longueur libre max. avec pointe de capture (montage mural) 5000 mm
Normes IEC/TS 62561-8

Product 819431 was added to Notepad.

Product 819431 was added to the cart.

Part No. 819433 HVI P 27 L6M SR5000 FS2500 GFK V2A

GTIN 4013364155459, Customs tariff No. (EU): 85389099, Gross weight: 21.60 kg, PU: 1.00 pièce(s)


Images

Additional information

Tube support HVI Power avec point de capture, 5000 mm, PRV/INOX
Support avec terminaison placée à l'intérieur et élément à ressort EB
pour maintenir la distance de séparation des parties conductrices conformément à la norme NF EN 62305-3
Les tubes de support sont dimensionnés selon l'Eurocode 1 (DIN EN 1991-1-4 + DIN EN 1991-1-4/NA)
Isolation renforcé en fibre de verre (PRV)
Facteur matériel km = 0,7
Couleur gris clair, stabilisé aux UV
Combiné avec pointe de capture, Ø22/16/10 mm, longueur de 2500 mm
Matériau - tube support: PRV / INOX
Longueur - tube support: 5000 mm
Longueur de transport: 5000 mm
Diamètre Ø - conducteur: 27 mm
Couleur - conducteur: noir ●
Matériau - conducteur: Cu
Commande min. : 6 m
Commande max.: 35 m
Longueur libre max. avec pointe de capture (montage mural): 5500 mm
Vitesse du vent en rafales max.: (longueur libre max. 5500 mm, 1x HVI power intérieur) 159 km/h
Normes: IEC/TS 62561-8

produit : DEHN
Type: HVI P 27 L6M SR5000 FS2500 GFK V2A
Référence: 819433
ou équivalent

Certificates

 

Technical data

Matériau - tube support PRV / INOX
Longueur - tube support 5000 mm
Longueur de transport 5000 mm
Diamètre Ø - conducteur 27 mm
Couleur - conducteur noir ●
Matériau - conducteur Cu
Commande min. 6 m
Commande max. 35 m
Approprié pour la pose en extérieur non
Longueur libre max. avec pointe de capture (montage mural) 5500 mm
Normes IEC/TS 62561-8

Product 819433 was added to Notepad.

Product 819433 was added to the cart.


back to top