Regards de visite pour systèmes d'isolation thermique
:quality(98)/www.dehn-international.com/store/f/49613678/HDVORSCHAU/476055a1_16-9.jpg)
:quality(98)/www.dehn-international.com/store/f/49613678/HDVORSCHAU/476055a1_16-9.jpg)
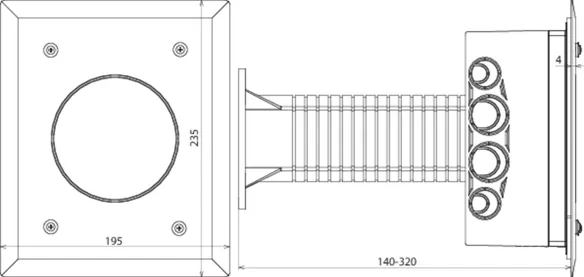
Une installation appropriée, résistante et étanche aux pluies battantes est assurée par leur conception (surface de collage pour fixer une bande d'arrêt d'eau gonflable) ainsi que par un couvercle spécialement développé et équipé d'un joint de contrôle en INOX.
Le regard de visite peut être réglé de 90 à 140 mm. Le support écarteur peut être utilisé lorsqu’un isolant thermique d’une largueur maximal de 320mm est mis en œuvre.
Les éléments de fixation nécessaires (vis et chevilles) ainsi qu'une protection en polystyrène (pour éviter une pollution pendant des travaux) sont compris dans la livraison.
Pour le passage des conducteurs (perforation) :
– Conducteur rond Ø8-10 mm
– Conducteur rond avec gaine en matière plastique Ø13 mm
– Conducteurs HVI Ø20-27 mm
– Conducteur plat 30x3,5 mm
La borne de séparation nécessaire ainsi que la plaquette numérotée sont à commander séparément.
Details
:quality(98)/www.dehn-international.com/store/f/49613679/HDVORSCHAU/476055_1.jpg)
:quality(98)/www.dehn-international.com/store/f/49613679/HDVORSCHAU/476055_1.jpg)
Part No. 476055 TSKS WDVS 185X140X88 AH50.200 K V2A
GTIN 4013364219755, Customs tariff No. (EU): 85359000, Gross weight: 1.02 kg, PU: 1.00 pièce(s)
Technical data
Matériau - coffret | PC / ABS |
Dimensions - coffret | 185 x 145 mm |
Matériau - couvercle | INOX |
Matériau - support écarteur | PP |
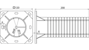
Dimensions - support écarteur | 120 x 120 x 200 mm |
Hauteur de montage | 90-320 mm |
Part No. 476050 TSK WDVS 180X140X88 K V2A
GTIN 4013364219717, Customs tariff No. (EU): 85359000, Gross weight: 1.02 kg, PU: 1.00 pièce(s)
Technical data
Matériau - coffret | PC / ABS |
Dimensions - coffret | 185 x 145 mm |
Matériau - couvercle | INOX |
Hauteur de montage | 90-140 mm |
Part No. 476053 AH TSK WDVS 50.200 K
GTIN 4013364219724, Customs tariff No. (EU): 39259080, Gross weight: 225.00 g, PU: 1.00 pièce(s)
Technical data
Matériau - support écarteur | PP |
Dimensions - support écarteur | 120 x 120 x 200 mm |