RST mentőrudak

  • Beltéri és kültéri berendezések számára
  • Átütésbiztos és fix szerelésű mentőhorog
  • Elektromos balesetnél személyek mentésére a veszélyzónából kb. 100 kg súlyig.

Mentőrúd 72,5 kV-ig

4 Products

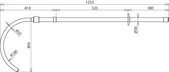
Part No. 766040 RST 36 1000

GTIN 4013364113046, Customs tariff No. (EU): 82055980, Gross weight: 2.70 kg, PU: 1.00 db.


Images

 

Technical data

Névleges feszültség (UN ) 1 ... 36 kV
Max. mentési súly 100 kg
Teljes hosszúság (lG ) 1235 mm
Bemerülési mélység (IO ) 410 mm

Product 766040 was added to Notepad.

Product 766040 was added to the cart.

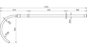
Part No. 766041 RST 36 1500

GTIN 4013364113053, Customs tariff No. (EU): 82055980, Gross weight: 2.86 kg, PU: 1.00 db.


Images

 

Technical data

Névleges feszültség (UN ) 1 ... 36 kV
Max. mentési súly 100 kg
Teljes hosszúság (lG ) 1695 mm
Bemerülési mélység (IO ) 620 mm

Product 766041 was added to Notepad.

Product 766041 was added to the cart.

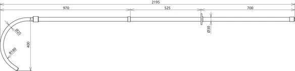
Part No. 766042 RST 36 2000

GTIN 4013364113060, Customs tariff No. (EU): 82055980, Gross weight: 3.00 kg, PU: 1.00 db.


Images

 

Technical data

Névleges feszültség (UN ) 1 ... 36 kV
Max. mentési súly 100 kg
Teljes hosszúság (lG ) 2195 mm
Bemerülési mélység (IO ) 970 mm

Product 766042 was added to Notepad.

Product 766042 was added to the cart.

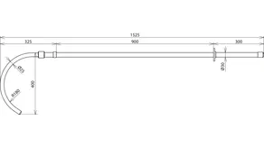
Part No. 766043 RST 72.5 1500

GTIN 4013364510142, Customs tariff No. (EU): 82055980, Gross weight: 2.80 kg, PU: 1.00 db.


Images

 

Technical data

Névleges feszültség (UN ) 1 ... 72,5 kV
Max. mentési súly 100 kg
Teljes hosszúság (lG ) 1525 mm
Bemerülési mélység (IO ) 325 mm

Product 766043 was added to Notepad.

Product 766043 was added to the cart.


back to top