Earthing Pipe Clamps

Earthing pipe clamps for integrating pipes into the protective and functional equipotential bonding according to IEC 60364-4-41/5-54, with continuously adjustable tensioning strap.

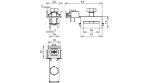
Type BRS17

For connecting 1 or 2 conductors or through-wiring,
connection cross-section 2.5-10 mm2 (solid).

1 Product

Part No. 540920 BRS 10.27 AQ2.5 10 V2A

GTIN 4013364144194, Customs tariff No. (EU): 85359000, Gross weight: 29.00 g, PU: 10.00 pc(s)

Predecessor

Images

Additional information

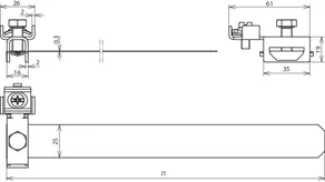
BRS 17 earthing pipe clamp, StSt
Earthing pipe clamp
For integrating pipes into the equipotential bonding
with continuously adjustable tensioning strap
Material: StSt
Clamping range pipe Ø: 10-27 mm (1/8-3/4'')
Dimensions of strap: 135 x 14 x 0.3 mm
Connection (solid): 2.5-10 mm2

Brand: DEHN
Type: BRS 10.27 AQ2.5 10 V2A
Part No.: 540920
or equivalent.

 

Technical data

Material StSt
Clamping range pipe Ø 10-27 mm (1/8-3/4'')
Dimensions of strap (l1 x w x d) 135 x 14 x 0.3 mm
Connection (solid) 2.5-10 mm2

Product 540920 was added to Notepad.

Product 540920 was added to the cart.


Type standard

For connecting 1 or 2 conductors or through-wiring, connection cross-section 4-25 mm² (solid / stranded).

3 Products

Part No. 540910 BRS 27.60 AQ4 25 V2A

GTIN 4013364025684, Customs tariff No. (EU): 85359000, Gross weight: 71.20 g, PU: 10.00 pc(s)

Predecessor

Images

Additional information

Earthing pipe clamp, standard, StSt (27-60 mm)
Earthing pipe clamp
For integrating pipes into the equipotential bonding
with continuously adjustable tensioning strap
Material: StSt
Clamping range pipe Ø: 27-60 mm (3/4-2'')
Dimensions of strap: 240 x 25 x 0.3 mm
Connection (solid / stranded): 4-25 mm2
Standard: EN 62561-1

Brand: DEHN
Type: BRS 27.60 AQ4 25 V2A
Part No.: 540910
or equivalent.

Certificates

 

Technical data

Material StSt
Clamping range pipe Ø 27-60 mm (3/4-2'')
Dimensions of strap (l1 x w x d) 240 x 25 x 0.3 mm
Connection (solid / stranded) 4-25 mm2
Standard EN 62561-1
*) For exact assignment, see test certificate.

Product 540910 was added to Notepad.

Product 540910 was added to the cart.

Part No. 540911 BRS 27.114 AQ4 25 V2A

GTIN 4013364025691, Customs tariff No. (EU): 85359000, Gross weight: 76.00 g, PU: 10.00 pc(s)


Images

Additional information

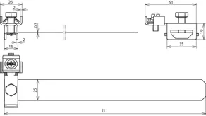
Earthing pipe clamp, standard, StSt (27-114 mm)
Earthing pipe clamp
For integrating pipes into the equipotential bonding
with continuously adjustable tensioning strap
Material: StSt
Clamping range pipe Ø: 27-114 mm (3/4-4'')
Dimensions of strap: 410 x 25 x 0.3 mm
Connection (solid / stranded): 4-25 mm2
Standard: EN 62561-1

Brand: DEHN
Type: BRS 27.114 AQ4 25 V2A
Part No.: 540911
or equivalent.

Certificates

 

Technical data

Material StSt
Clamping range pipe Ø 27-114 mm (3/4-4'')
Dimensions of strap (l1 x w x d) 410 x 25 x 0.3 mm
Connection (solid / stranded) 4-25 mm2
Standard EN 62561-1
*) For exact assignment, see test certificate.

Product 540911 was added to Notepad.

Product 540911 was added to the cart.

Part No. 540912 BRS 27.168 AQ4 25 V2A

GTIN 4013364035362, Customs tariff No. (EU): 85359000, Gross weight: 93.90 g, PU: 10.00 pc(s)


Images

Additional information

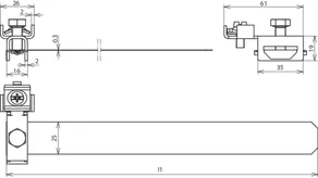
Earthing pipe clamp, standard, StSt (27-168 mm)
Earthing pipe clamp
For integrating pipes into the equipotential bonding
with continuously adjustable tensioning strap
Material: StSt
Clamping range pipe Ø: 27-168 mm (3/4-6'')
Dimensions of strap: 570 x 25 x 0.3 mm
Connection (solid / stranded): 4-25 mm2
Standard: EN 62561-1

Brand: DEHN
Type: BRS 27.168 AQ4 25 V2A
Part No.: 540912
or equivalent.

Certificates

 

Technical data

Material StSt
Clamping range pipe Ø 27-168 mm (3/4-6'')
Dimensions of strap (l1 x w x d) 570 x 25 x 0.3 mm
Connection (solid / stranded) 4-25 mm2
Standard EN 62561-1
*) For exact assignment, see test certificate.

Product 540912 was added to Notepad.

Product 540912 was added to the cart.


Separate grip head

For combination with endless tensioning strap (Part No. 540 901), connection cross-section 4-25 mm² (solid / stranded).

1 Product

Part No. 540900 SPK 25 BRS AQ4 25 V2A

GTIN 4013364076532, Customs tariff No. (EU): 85359000, Gross weight: 57.00 g, PU: 50.00 pc(s)


Images

Additional information

Earthing pipe clamp, separate grip head, StSt
Earthing pipe clamp
For integrating pipes into the equipotential bonding
with continuously adjustable tensioning strap
Separate grip head, for combination with endless tensioning strap (Part No. 540 901), cross-sectional area 4-25 mm2
Material: StSt
Connection: 4-25 mm2
Standard: EN 62561-1

Brand: DEHN
Type: SPK 25 BRS AQ4 25 V2A
Part No.: 540900
or equivalent.

Certificates

 

Technical data

Material StSt
Connection 4-25 mm2
Standard EN 62561-1
*) For exact assignment, see test certificate.

Product 540900 was added to Notepad.

Product 540900 was added to the cart.


Endless tensioning strap

For cutting to length, e.g with snips.

1 Product

Part No. 540901 SPB 25X0.3 L100M V2A

GTIN 4013364076525, Customs tariff No. (EU): 73269098, Gross weight: 6.30 kg, PU: 1.00 pc(s)


Images

Additional information

Pipe clamps for hazardous areas, tensioning strap
Earthing pipe clamp for combination with different
fixing elements or connection components
Material: StSt
Length: 100 m

Brand: DEHN
Type: SPB 25X0.3 L100M V2A
Part No.: 540901
or equivalent.

Certificates

 

Technical data

Material StSt
Dimensions of strap (w x d) 25 x 0.3 mm
Length 100 m

Product 540901 was added to Notepad.

Product 540901 was added to the cart.


back to top