Potentialausgleich an Kabeltragsystemen für Ex-Bereiche Zone 2/22

Das Potentialausgleichssystem wird an Kabeltragsystemen montiert und ermöglicht mit Potentialausgleichsplatten, -klemmen und einem geschlossenen Ringpotentialausgleichsleiter die Einbindung aller leitfähigen Anlagenteile und elektrischen Betriebsmittel in einen Ex-Potentialausgleich. Somit ist eine durchgängige Verbindung gewährleistet.

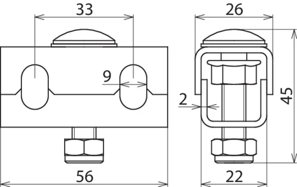
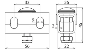
PA-Klemme für Kabelbahnen und PA-Platte

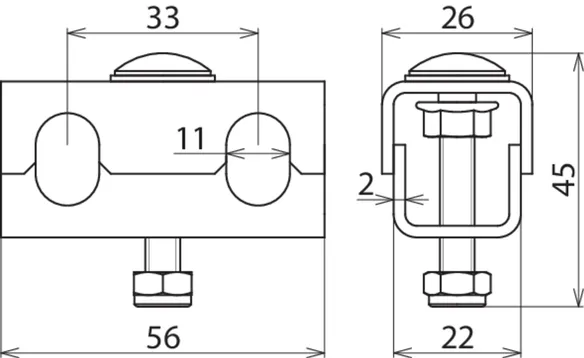
PA-Klemme (PAK) Kabelbahn

  • Anschluss nur mit Ringpotentialausgleichsleiter (Kupferseil verzinnt)
  • Befestigung an der seitlich gelochten Kabelbahn oder an der PA-Platte (PAP 1 / PAP 2)
  • PA-Klemme wird ca. alle 0,5 m montiert

6 Products

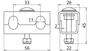
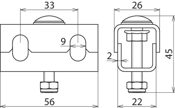
Part No. 306200 PAK 35 M8 EX KB ER

GTIN 4013364327368, Customs tariff No. (EU): 85359000, Gross weight: 113.40 g, PU: 50.00 Stk.


Images

Additional information

Potentialausgleichsklemme für Kabeltragsyteme
Potentialausgleichsklemme für die Verlegung
eines Ringpotentialausgleichsleiter
für die Befestigung als Einzelklemme an der seitlich
gelochten Kabelbahn, Kabelrinne
oder Weitspannkabelbahn mit Lochungen
sowie für die Befestigung an der PA-Platte PAP1-EX-KB-ER
oder PAP2-EX-KB-ER
einsetzbar für Ex-Zone 2/22
Werkstoff: NIRO
Klemmbereich PA-Ringleiter: 35 mm², Cu/gal Sn
Werkstoff-Nr.: 1.4301
EX-Zone: 2/22

Fabrikat: DEHN
Typ: PAK 35 M8 EX KB ER
Art.-Nr.: 306200
oder gleichwertig.

Certificates

 

Technical data

Werkstoff NIRO
Anschluss an PAP 1 EX KB ER bzw. PAP 2 EX KB ER oder Kabelbahn bzw. Weitspannkabelbahn
Klemmbereich PA-Ringleiter 35 mm², Cu /gal Sn
Schraube M8 x 40 mm
Werkstoff Schraube / Mutter NIRO
Werkstoff-Nr. 1.4301
EX-Zone 2/22
Kurzschlusstrom AC (50 Hz / 5 s) 1,5 kA
Kurzschlusstrom DC (5 s) 250 A

Product 306200 was added to Notepad.

Product 306200 was added to the cart.

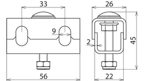
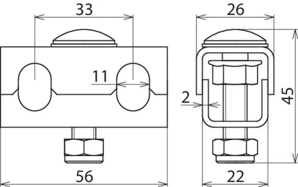
Part No. 306201 PAK 50 M8 EX KB ER

GTIN 4013364327375, Customs tariff No. (EU): 85359000, Gross weight: 128.80 g, PU: 50.00 Stk.


Images

Additional information

Potentialausgleichsklemme für Kabeltragsyteme
Potentialausgleichsklemme für die Verlegung
eines Ringpotentialausgleichsleiter
für die Befestigung als Einzelklemme an der seitlich
gelochten Kabelbahn, Kabelrinne
oder Weitspannkabelbahn mit Lochungen
sowie für die Befestigung an der PA-Platte PAP1-EX-KB-ER
oder PAP2-EX-KB-ER
einsetzbar für Ex-Zone 2/22
Werkstoff: NIRO
Klemmbereich PA-Ringleiter: 50 mm², Cu/gal Sn
Werkstoff-Nr.: 1.4301
EX-Zone: 2/22

Fabrikat: DEHN
Typ: PAK 50 M8 EX KB ER
Art.-Nr.: 306201
oder gleichwertig.

Certificates

 

Technical data

Werkstoff NIRO
Anschluss an PAP 1 EX KB ER bzw. PAP 2 EX KB ER oder Kabelbahn bzw. Weitspannkabelbahn
Klemmbereich PA-Ringleiter 50 mm², Cu /gal Sn
Schraube M8 x 40 mm
Werkstoff Schraube / Mutter NIRO
Werkstoff-Nr. 1.4301
EX-Zone 2/22

Product 306201 was added to Notepad.

Product 306201 was added to the cart.

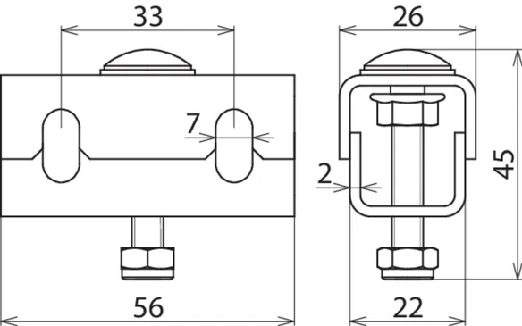
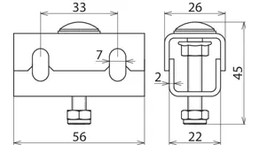
Part No. 306202 PAK 70 M8 EX KB ER

GTIN 4013364327351, Customs tariff No. (EU): 85359000, Gross weight: 110.00 g, PU: 50.00 Stk.


Images

Additional information

Potentialausgleichsklemme für Kabeltragsyteme
Potentialausgleichsklemme für die Verlegung
eines Ringpotentialausgleichsleiter
für die Befestigung als Einzelklemme an der seitlich
gelochten Kabelbahn, Kabelrinne
oder Weitspannkabelbahn mit Lochungen
sowie für die Befestigung an der PA-Platte PAP1-EX-KB-ER
oder PAP2-EX-KB-ER
einsetzbar für Ex-Zone 2/22
Werkstoff: NIRO
Klemmbereich PA-Ringleiter: 70 mm², Cu/gal Sn
Werkstoff-Nr.: 1.4301
EX-Zone: 2/22

Fabrikat: DEHN
Typ: PAK 70 M8 EX KB ER
Art.-Nr.: 306202
oder gleichwertig.

Certificates

 

Technical data

Werkstoff NIRO
Anschluss an PAP 1 EX KB ER bzw. PAP 2 EX KB ER oder Kabelbahn bzw. Weitspannkabelbahn
Klemmbereich PA-Ringleiter 70 mm², Cu /gal Sn
Schraube M8 x 40 mm
Werkstoff Schraube / Mutter NIRO
Werkstoff-Nr. 1.4301
EX-Zone 2/22
Kurzschlusstrom AC (50 Hz / 5 s) 1,5 kA
Kurzschlusstrom DC (5 s) 250 A

Product 306202 was added to Notepad.

Product 306202 was added to the cart.

Part No. 306204 PAK 35 M6 EX KB ER

GTIN 4013364336766, Customs tariff No. (EU): 85359000, Gross weight: 98.20 g, PU: 50.00 Stk.


Images

Additional information

Potentialausgleichsklemme für Kabeltragsyteme
Potentialausgleichsklemme für die Verlegung
eines Ringpotentialausgleichsleiter
für die Befestigung als Einzelklemme an der seitlich
gelochten Kabelbahn, Kabelrinne
oder Weitspannkabelbahn mit Lochungen
sowie für die Befestigung an der PA-Platte PAP1-EX-KB-ER
oder PAP2-EX-KB-ER
einsetzbar für Ex-Zone 2/22
Werkstoff: NIRO
Klemmbereich PA-Ringleiter: 35 mm², Cu/gal Sn
Werkstoff-Nr.: 1.4301
EX-Zone: 2/22

Fabrikat: DEHN
Typ: PAK 35 M6 EX KB ER
Art.-Nr.: 306204
oder gleichwertig.

Certificates

 

Technical data

Werkstoff NIRO
Anschluss an PAP 1 EX KB ER bzw. PAP 2 EX KB ER oder Kabelbahn bzw. Weitspannkabelbahn
Klemmbereich PA-Ringleiter 35 mm², Cu /gal Sn
Schraube M6 x 35 mm
Werkstoff Schraube / Mutter NIRO
Werkstoff-Nr. 1.4301
EX-Zone 2/22

Product 306204 was added to Notepad.

Product 306204 was added to the cart.

Part No. 306205 PAK 50 M6 EX KB ER

GTIN 4013364336773, Customs tariff No. (EU): 85359000, Gross weight: 95.60 g, PU: 50.00 Stk.


Images

Additional information

Potentialausgleichsklemme für Kabeltragsyteme
Potentialausgleichsklemme für die Verlegung
eines Ringpotentialausgleichsleiter
für die Befestigung als Einzelklemme an der seitlich
gelochten Kabelbahn, Kabelrinne
oder Weitspannkabelbahn mit Lochungen
sowie für die Befestigung an der PA-Platte PAP1-EX-KB-ER
oder PAP2-EX-KB-ER
einsetzbar für Ex-Zone 2/22
Werkstoff: NIRO
Klemmbereich PA-Ringleiter: 50 mm², Cu/gal Sn
Werkstoff-Nr.: 1.4301
EX-Zone: 2/22

Fabrikat: DEHN
Typ: PAK 50 M6 EX KB ER
Art.-Nr.: 306205
oder gleichwertig.

Certificates

 

Technical data

Werkstoff NIRO
Anschluss an PAP 1 EX KB ER bzw. PAP 2 EX KB ER oder Kabelbahn bzw. Weitspannkabelbahn
Klemmbereich PA-Ringleiter 50 mm², Cu /gal Sn
Schraube M6 x 35 mm
Werkstoff Schraube / Mutter NIRO
Werkstoff-Nr. 1.4301
EX-Zone 2/22

Product 306205 was added to Notepad.

Product 306205 was added to the cart.

Part No. 306206 PAK 70 M6 EX KB ER

GTIN 4013364336780, Customs tariff No. (EU): 85359000, Gross weight: 94.20 g, PU: 50.00 Stk.


Images

Additional information

Potentialausgleichsklemme für Kabeltragsyteme
Potentialausgleichsklemme für die Verlegung
eines Ringpotentialausgleichsleiter
für die Befestigung als Einzelklemme an der seitlich
gelochten Kabelbahn, Kabelrinne
oder Weitspannkabelbahn mit Lochungen
sowie für die Befestigung an der PA-Platte PAP1-EX-KB-ER
oder PAP2-EX-KB-ER
einsetzbar für Ex-Zone 2/22
Werkstoff: NIRO
Klemmbereich PA-Ringleiter: 70 mm², Cu/gal Sn
Werkstoff-Nr.: 1.4301
EX-Zone: 2/22

Fabrikat: DEHN
Typ: PAK 70 M6 EX KB ER
Art.-Nr.: 306206
oder gleichwertig.

Certificates

 

Technical data

Werkstoff NIRO
Anschluss an PAP 1 EX KB ER bzw. PAP 2 EX KB ER oder Kabelbahn bzw. Weitspannkabelbahn
Klemmbereich PA-Ringleiter 70 mm², Cu /gal Sn
Schraube M6 x 35 mm
Werkstoff Schraube / Mutter NIRO
Werkstoff-Nr. 1.4301
EX-Zone 2/22

Product 306206 was added to Notepad.

Product 306206 was added to the cart.


PA-Klemme für Gitterbahnen

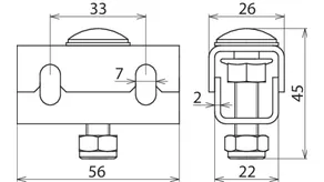
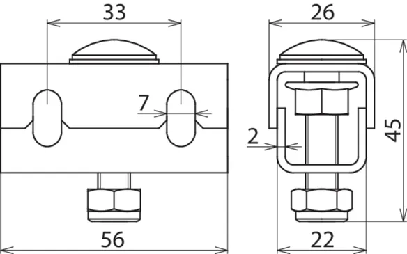
PA-Klemme (PAK) Gitterbahn

  • Anschluss nur mit Ringpotentialausgleichsleiter 35 mm2, Art.-Nr. 832 838 (Kupferseil verzinnt)
  • Befestigung an der Gitterbahn oder an der PA-Platte (PAP 1 / PAP 2)
  • PA-Klemme wird ca. alle 0,5 m montiert

1 Product

Part No. 306203 PAK 35 M8 EX GI ER

GTIN 4013364327382, Customs tariff No. (EU): 85359000, Gross weight: 128.80 g, PU: 50.00 Stk.


Images

Additional information

Potentialausgleichsklemme für Kabeltragsyteme
Potentialausgleichsklemme für die Verlegung
eines Ringpotentialausgleichsleiter
für die Befestigung als Einzelklemme
seitlich an der Gitterbahn
sowie für die Befestigung an der PA-Platte PAP1-EX-GI-ER
oder PAP2-EX-GI-ER
einsetzbar für Ex-Zone 2/22
Werkstoff: NIRO
Klemmbereich PA-Ringleiter: 35 mm², Cu/gal Sn
Werkstoff-Nr.: 1.4301
EX-Zone: 2/22

Fabrikat: DEHN
Typ: PAK 35 M8 EX GI ER
Art.-Nr.: 306203
oder gleichwertig.

Certificates

 

Technical data

Werkstoff NIRO
Anschluss an PAP 1 EX GI ER bzw. PAP 2 EX GI ER oder Gitterbahn
Klemmbereich PA-Ringleiter 35 mm², Cu/gal Sn
Schraube M8 x 40 mm
Werkstoff Schraube / Mutter NIRO
Werkstoff-Nr. 1.4301
EX-Zone 2/22
Kurzschlusstrom AC (50 Hz / 5 s) 1,5 kA
Kurzschlusstrom DC (5 s) 250 A

Product 306203 was added to Notepad.

Product 306203 was added to the cart.


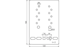
PA-Platte für Kabelbahnen

PA-Platte (PAP) Kabelbahn

  • Aufnahme der PA-Klemme (PAK) für den Ringpotentialausgleichsleiter (Kupferseil verzinnt)
  • Befestigung an der seitlich gelochten Kabelbahn

2 Products

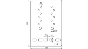
Part No. 306210 PAP 1 EX KB ER

GTIN 4013364327399, Customs tariff No. (EU): 85359000, Gross weight: 374.00 g, PU: 15.00 Stk.


Images

Additional information

Potentialausgleichsplatte für Kabeltragsyteme
Potentialausgleichsplatte für den Anschluss
an der seitlich gelochten Kabelbahn, Kabelrinne
oder Weitspannkabelbahn mit Lochungen
zur Aufnahme der PA Klemme für Kabelbahnen (KB)
einsetzbar für Ex-Zone 2/22
Werkstoff: NIRO
Anschlussbohrungen für PA-Leiter mit Kabelschuh: 3x Ø11 mm, 3x Ø9 mm, Zugentlastung 3x Seilklemme M6
EX-Zone: 2/22

Fabrikat: DEHN
Typ: PAP 1 EX KB ER
Art.-Nr.: 306210
oder gleichwertig.

Certificates

 

Technical data

Werkstoff NIRO
Abmessung 120 x 180 mm
Anschlussbohrungen für PA-Leiter mit Kabelschuh 3x Ø11 mm, 3x Ø9 mm, Zugentlastung 3x Seilklemme M6
Anschlussmöglichkeiten für PA-Klemmen PAK ... EX KB ER
Befestigungsbohrungen für Kabelbahn [4x] 9 x 20 / [1x] 9 x 9 mm
EX-Zone 2/22
Kurzschlusstrom AC (50 Hz / 5 s) 1,5 kA
Kurzschlusstrom DC (5 s) 250 A

Product 306210 was added to Notepad.

Product 306210 was added to the cart.

Part No. 306211 PAP 2 EX KB ER

GTIN 4013364327405, Customs tariff No. (EU): 85359000, Gross weight: 401.00 g, PU: 15.00 Stk.


Images

Additional information

Potentialausgleichsplatte für Kabeltragsyteme
Potentialausgleichsplatte für den Anschluss
an der seitlich gelochten Kabelbahn, Kabelrinne
oder Weitspannkabelbahn mit Lochungen
zur Aufnahme der PA Klemme für Kabelbahnen (KB)
einsetzbar für Ex-Zone 2/22
Werkstoff: NIRO
Anschlussbohrungen für PA-Leiter mit Kabelschuh: 2x Ø11 mm, 12x Ø7 mm
EX-Zone: 2/22

Fabrikat: DEHN
Typ: PAP 2 EX KB ER
Art.-Nr.: 306211
oder gleichwertig.

Certificates

 

Technical data

Werkstoff NIRO
Abmessung 120 x 195 mm
Anschlussbohrungen für PA-Leiter mit Kabelschuh 2x Ø11 mm, 12x Ø7 mm
Anschlussmöglichkeiten für PA-Klemmen PAK ... EX KB ER
Befestigungsbohrungen für Kabelbahn [4x] 9 x 20 / [1x] 9 x 9 mm
EX-Zone 2/22
Kurzschlusstrom AC (50 Hz / 5 s) 1,5 kA
Kurzschlusstrom DC (5 s) 250 A

Product 306211 was added to Notepad.

Product 306211 was added to the cart.


PA-Platte für Gitterbahnen

PA-Platte (PAP) Gitterbahn

  • Aufnahme der PA-Klemme (PAK) für den Ringpotentialausgleichsleiter (Kupferseil verzinnt)
  • Befestigung an der Gitterbahn

2 Products

Part No. 306212 PAP 1 EX GI ER

GTIN 4013364327412, Customs tariff No. (EU): 85359000, Gross weight: 384.00 g, PU: 15.00 Stk.


Images

Additional information

Potentialausgleichsplatte für Kabeltragsyteme
Potentialausgleichsplatte für den Anschluss
an Gitterbahnen und
zur Aufnahme der PA Klemme für Gitterbahnen (GI)
einsetzbar für Ex-Zone 2/22
Werkstoff: NIRO
Anschlussbohrungen für PA-Leiter mit Kabelschuh: 3x Ø11 mm, 3x Ø9 mm, Zugentlastung 3x Seilklemme M6
EX-Zone: 2/22

Fabrikat: DEHN
Typ: PAP 1 EX GI ER
Art.-Nr.: 306212
oder gleichwertig.

Certificates

 

Technical data

Werkstoff NIRO
Abmessung 120 x 180 mm
Anschlussbohrungen für PA-Leiter mit Kabelschuh 3x Ø11 mm, 3x Ø9 mm, Zugentlastung 3x Seilklemme M6
Anschlussmöglichkeiten für PA-Klemmen PAK ... EX KB ER
Befestigungsbohrungen für Gitterbahn Gitterbahn [4x] 9 x 20 / [1x] 9 x 9 mm
EX-Zone 2/22
Kurzschlusstrom AC (50 Hz / 5 s) 1,5 kA
Kurzschlusstrom DC (5 s) 250 A

Product 306212 was added to Notepad.

Product 306212 was added to the cart.

Part No. 306213 PAP 2 EX GI ER

GTIN 4013364327429, Customs tariff No. (EU): 85359000, Gross weight: 391.50 g, PU: 15.00 Stk.


Images

Additional information

Potentialausgleichsplatte für Kabeltragsyteme
Potentialausgleichsplatte für den Anschluss
an Gitterbahnen und
zur Aufnahme der PA Klemme für Gitterbahnen (GI)
einsetzbar für Ex-Zone 2/22
Werkstoff: NIRO
Anschlussbohrungen für PA-Leiter mit Kabelschuh: 2x Ø11 mm, 12x Ø7 mm
EX-Zone: 2/22

Fabrikat: DEHN
Typ: PAP 2 EX GI ER
Art.-Nr.: 306213
oder gleichwertig.

Certificates

 

Technical data

Werkstoff NIRO
Abmessung 120 x 195 mm
Anschlussbohrungen für PA-Leiter mit Kabelschuh 2x Ø11 mm, 12x Ø7 mm
Anschlussmöglichkeiten für PA-Klemmen PAK ... EX KB ER
Befestigungsbohrungen für Gitterbahn [4x] 9 x 20 / [1x] 9 x 9 mm
EX-Zone 2/22
Kurzschlusstrom AC (50 Hz / 5 s) 1,5 kA
Kurzschlusstrom DC (5 s) 250 A

Product 306213 was added to Notepad.

Product 306213 was added to the cart.


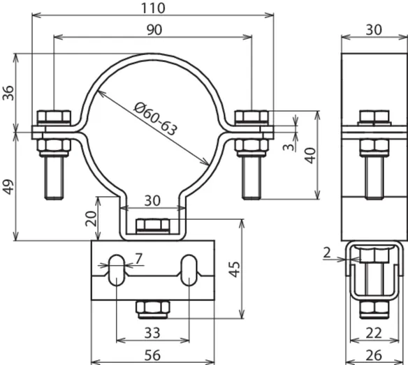
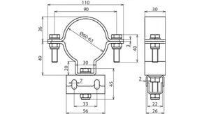
PA-Rohrschellen

PA-Rohrschelle (SBD 60 PAK 35)

  • Anschluss nur mit Ringpotentialausgleichsleiter 35 mm2, Art.-Nr. 832 838 (Kupferseil verzinnt)
  • Befestigung an Rundrohr DN50 (60 mm)
  • PA-Klemme wird ca. alle 0,5 m montiert

1 Product

Part No. 306220 SBD 60 PAK 35 EX ER

GTIN 4013364327436, Customs tariff No. (EU): 85359000, Gross weight: 408.00 g, PU: 50.00 Stk.


Images

Additional information

Potentialausgleichsrohrschelle für Kabeltragsyteme
Potentialausgleichsrohrschelle
mit Klemme für die Verlegung
eines Ringpotentialausgleichsleiter
an Rundrohr DN50
einsetzbar für Ex-Zone 2/22
Werkstoff: NIRO
Klemmbereich PA-Ringleiter: 35 mm², Cu/gal Sn
EX-Zone: 2/22

Fabrikat: DEHN
Typ: SBD 60 PAK 35 EX ER
Art.-Nr.: 306220
oder gleichwertig.

Certificates

 

Technical data

Werkstoff NIRO
Abmessung Ø60 mm
Klemmbereich PA-Ringleiter 35 mm², Cu /gal Sn
EX-Zone 2/22

Product 306220 was added to Notepad.

Product 306220 was added to the cart.


Seilklemme

Seilklemme als Zugentlastung bei der Verlegung von Kupferseil an der Potentialausgleichsplatte PAP1 EX KB ER bzw. PAP1 EX GI ER.

2 Products

Part No. 306230 MPE S 35 ER

GTIN 4013364327443, Customs tariff No. (EU): 85359000, Gross weight: 10.60 g, PU: 10.00 Stk.


Images

Additional information

Seilklemme für Kabeltragsyteme
Seilklemme zur Zugentlastung
bei der Verlegung von
Kupferseilseil an der
Potentialausgleichsplatte
PAP1-EX-KB-ER bzw. PAP1-EX-GI-ER

Werkstoff: NIRO
Klemmbereich Kupferseil: 35 mm²
EX-Zone: 2/22

Fabrikat: DEHN
Typ: MPE S 35 ER
Art.-Nr.: 306230
oder gleichwertig.

Certificates

 

Technical data

Werkstoff NIRO
Anschluss an PAP1 EX KB ER bzw. PAP1 EX GI ER
Klemmbereich Kupferseil 35 mm²
EX-Zone 2/22

Product 306230 was added to Notepad.

Product 306230 was added to the cart.

Part No. 306231 MPE S 50/70 ER

GTIN 4013364327450, Customs tariff No. (EU): 85359000, Gross weight: 12.40 g, PU: 10.00 Stk.


Images

Additional information

Seilklemme für Kabeltragsyteme
Seilklemme zur Zugentlastung
bei der Verlegung von
Kupferseilseil an der
Potentialausgleichsplatte
PAP1-EX-KB-ER bzw. PAP1-EX-GI-ER
Werkstoff: NIRO
Klemmbereich Kupferseil: 50 bzw. 70 mm²
EX-Zone: 2/22

Fabrikat: DEHN
Typ: MPE S 50/70 ER
Art.-Nr.: 306231
oder gleichwertig.

Certificates

 

Technical data

Werkstoff NIRO
Anschluss an PAP1 EX KB ER bzw. PAP1 EX GI ER
Klemmbereich Kupferseil 50 bzw. 70 mm²
EX-Zone 2/22

Product 306231 was added to Notepad.

Product 306231 was added to the cart.


Sicherungsmutter

Sicherungsmutter für Seilklemmen (MPE S 35 ER und MPE S 50/70 ER).

1 Product

Part No. 306240 SM SS M6 ER

GTIN 4013364327467, Customs tariff No. (EU): 85359000, Gross weight: 2.25 g, PU: 20.00 Stk.


Images

Additional information

Schraube M6 NIRO
Schraubensicherung M6 gegen
unbeabsichtigtes Lösen oder Lockern
durch Vibrationen (Selbstsichernd)
für Seilklemme MPE S 35 ER bzw. MPE S 50/70 ER
Werkstoff: NIRO
EX-Zone: 2/22

Fabrikat: DEHN
Typ: SM SS M6 ER
Art.-Nr.: 306240
oder gleichwertig.

Certificates

 

Technical data

Werkstoff NIRO
Ausführung M6
EX-Zone 2/22

Product 306240 was added to Notepad.

Product 306240 was added to the cart.


Sechskantmutter

Mutter für Seilklemmen (MPE S 35 ER und MPE S 50/70 ER).

1 Product

Part No. 505901 SKM M6 DIN 934 V2A

GTIN 4013364019355, Customs tariff No. (EU): 73181639, Gross weight: 2.10 g, PU: 20.00 Stk.


Images

Additional information

Schraube M6 NIRO
Schraubensicherung M6 gegen
unbeabsichtigtes Lösen oder Lockern
durch Vibrationen (Selbstsichernd)
für Seilklemme MPE S 35 ER bzw. MPE S 50/70 ER
Werkstoff: NIRO

Fabrikat: DEHN
Typ: SKM M6 DIN 934 V2A
Art.-Nr.: 505901
oder gleichwertig.

Certificates

 

Technical data

Werkstoff NIRO
Ausführung M6

Product 505901 was added to Notepad.

Product 505901 was added to the cart.


Federring

Federring für Seilklemmen (MPE S 35 ER und MPE S 50/70 ER).

1 Product

Part No. 524906 FR A6 V2A

GTIN 4013364004009, Customs tariff No. (EU): 73182100, Gross weight: 1.00 g, PU: 20.00 Stk.


Images

Additional information

Schraube M6 NIRO
Schraubensicherung M6 gegen
unbeabsichtigtes Lösen oder Lockern
durch Vibrationen (Selbstsichernd)
für Seilklemme MPE S 35 ER bzw. MPE S 50/70 ER
Werkstoff: NIRO

Fabrikat: DEHN
Typ: FR A6 V2A
Art.-Nr.: 524906
oder gleichwertig.

Certificates

 

Technical data

Werkstoff NIRO
Ausführung A6

Product 524906 was added to Notepad.

Product 524906 was added to the cart.


back to top