Fangstangen für Metalldächer

Zum Schutz von Dachaufbauten, Lichtkuppeln usw.
Die Befestigung erfolgt an den Strebenenden (Bohrungen Ø11 mm) durch vier Halter für Metalldächer.
Die Halter sind entsprechend dem Dachprofil auszuwählen (Rundstehfalz Art.-Nr. 123 040, Klemmfalz Art.-Nr. 123 041, Stehfalz 123 042, ohne Falz zum Nieten oder Schrauben 123 043).

Bei der Verwendung dieser vier Halter für Metalldächer (Klemmen) für das entsprechende Dachprofil ist die Blitzstromtragfähigkeit von 100 kA (10/350 µs) gegeben.
Die Fangstangen sind nach Eurocode 1 (DIN EN 1991-1-4 + DIN EN 1991-1-4/NA) dimensioniert.

Für die Weiterführung der Ableitung sind die Dachleitungshalter für Metalldächer entsprechend dem Dachprofil auszuwählen (z. B. Rundstehfalz Art.-Nr. 223 010 oder Stehfalz Art.-Nr. 365 059).

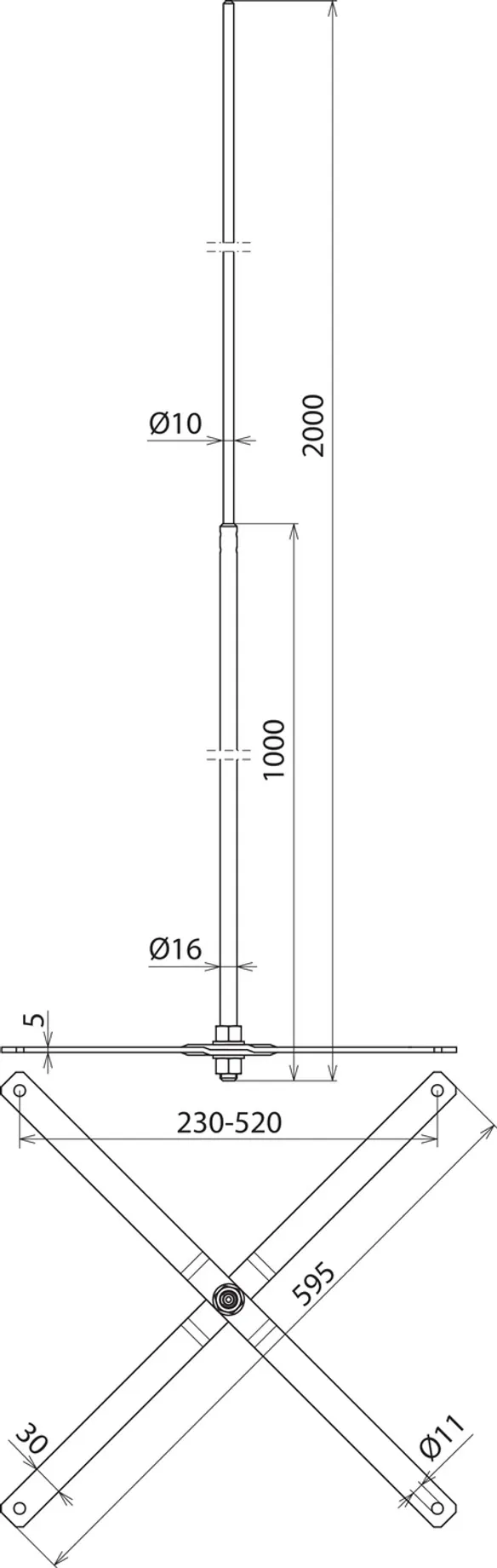
Ausführung Höhe 2000 mm

Mit Gewindeverschraubung M16.

1 Product

Part No. 123021 FS 16 10 2000 MD AL V2A

GTIN 4013364092822, Customs tariff No. (EU): 85389099, Gross weight: 2.20 kg, PU: 1.00 Stk.


Images

Additional information

Fangstangen für Metalldächer Höhe 2000mm
Fangstangen für Metalldächer
zum Schutz von Lichtkuppeln
oder Dachaufbauten auf Metalldächern
dimensioniert nach
Eurocode 1 (DIN EN 1991-1-4 + DIN EN 1991-1-4/NA)
für eine max. Böenwindgeschwindigkeit bis 184 km/h.
Zur Befestigung mit 4 Leitungshaltern
auf Stehfalz- oder Rundstehfalzdächern
z.B. Art.-Nr. 365 059, 223 010 oder 223 070
(sind separat zu bestellen)
Streben aus NIRO für die Aufnahme der 4 Leitungshaltern
Bei der Verwendung dieser vier Dachleitungshalter
(Klemmen) für das entsprechende Dachprofil ist die
Blitzstromtragfähigkeit mit 100 kA (10/350) gegeben.
Gesamtlänge (Ø16 / 10 mm): 2000 mm
Profilabstand: 230-520 mm
Befestigung: [4x] Ø11 mm
Werkstoff Streben: NIRO
Werkstoff Fangstange: Al
Normenbezug: DIN EN 62561-(1+2)

Fabrikat: DEHN
Typ: FS 16 10 2000 MD AL V2A
Art.-Nr.: 123021
oder gleichwertig.

Certificates

 

Technical data

Gesamtlänge (Ø16 / 10 mm) 2000 mm
Max. Böenwindgeschwindigkeit 184 km/h
Profilabstand 230-520 mm
Befestigung [4x] Ø11 mm
Werkstoff Streben NIRO
Werkstoff Fangstange Al
Normenbezug DIN EN 62561-(1+2)

Product 123021 was added to Notepad.

Product 123021 was added to the cart.


Ausführung bis Höhe 3500 mm

Mit Anpassung an die Dachneigung bis max. 10°.

3 Products

Part No. 123425 FS 22 16 10 2500 SK AL V2A

GTIN 4013364129009, Customs tariff No. (EU): 85389099, Gross weight: 2.82 kg, PU: 1.00 Stk.


Images

Additional information

Fangstangen für Metalldächer Höhe 2500mm
Fangstangen für Metalldächer
zum Schutz von Lichtkuppeln
oder Dachaufbauten auf Metalldächern.
Anpassung an die Dachneigung bis max. 10 Grad möglich.
Fangstangen dimensioniert nach
Eurocode 1 (DIN EN 1991-1-4 + DIN EN 1991-1-4/NA)
für eine max. Böenwindgeschwindigkeit bis 185 km/h.
Zur Befestigung mit 4 Leitungshaltern
auf Stehfalz- oder Rundstehfalzdächern
z.B. Art.-Nr. 365 059, 223 010 oder 223 070
(sind separat zu bestellen)
Streben aus NIRO für die Aufnahme der 4 Leitungshaltern
Bei der Verwendung dieser vier Dachleitungshalter
(Klemmen) für das entsprechende Dachprofil ist die
Blitzstromtragfähigkeit mit 100 kA (10/350) gegeben.
Gesamtlänge (Ø22 / 16 / 10 mm): 2500 mm
Profilabstand: 230-520 mm
Befestigung: [4x] Ø11 mm
Werkstoff Streben: NIRO
Werkstoff Fangstange: Al
Normenbezug: DIN EN 62561-(1+2)

Fabrikat: DEHN
Typ: FS 22 16 10 2500 SK AL V2A
Art.-Nr.: 123425
oder gleichwertig.

Certificates

 

Technical data

Gesamtlänge (Ø22 / 16 / 10 mm) 2500 mm
Max. Böenwindgeschwindigkeit 185 km/h
Profilabstand 230-520 mm
Befestigung [4x] Ø11 mm
Werkstoff Streben NIRO
Werkstoff Fangstange Al
Normenbezug DIN EN 62561-(1+2)

Product 123425 was added to Notepad.

Product 123425 was added to the cart.

Part No. 123430 FS 22 16 10 3000 SK AL V2A

GTIN 4013364129016, Customs tariff No. (EU): 85389099, Gross weight: 3.22 kg, PU: 1.00 Stk.


Images

Additional information

Fangstangen für Metalldächer Höhe 3000mm
Fangstangen für Metalldächer
zum Schutz von Lichtkuppeln
oder Dachaufbauten auf Metalldächern.
Anpassung an die Dachneigung bis max. 10 Grad möglich.
Fangstangen dimensioniert nach
Eurocode 1 (DIN EN 1991-1-4 + DIN EN 1991-1-4/NA)
für eine max. Böenwindgeschwindigkeit bis 149 km/h.
Zur Befestigung mit 4 Leitungshaltern
auf Stehfalz- oder Rundstehfalzdächern
z.B. Art.-Nr. 365 059, 223 010 oder 223 070
(sind separat zu bestellen)
Streben aus NIRO für die Aufnahme der 4 Leitungshaltern
Bei der Verwendung dieser vier Dachleitungshalter
(Klemmen) für das entsprechende Dachprofil ist die
Blitzstromtragfähigkeit mit 100 kA (10/350) gegeben.
Gesamtlänge (Ø22 / 16 / 10 mm): 3000 mm
Profilabstand: 230-520 mm
Befestigung: [4x] Ø11 mm
Werkstoff Streben: NIRO
Werkstoff Fangstange: Al
Normenbezug: DIN EN 62561-(1+2)

Fabrikat: DEHN
Typ: FS 22 16 10 3000 SK AL V2A
Art.-Nr.: 123430
oder gleichwertig.

Certificates

 

Technical data

Gesamtlänge (Ø22 / 16 / 10 mm) 3000 mm
Max. Böenwindgeschwindigkeit 149 km/h
Profilabstand 230-520 mm
Befestigung [4x] Ø11 mm
Werkstoff Streben NIRO
Werkstoff Fangstange Al
Normenbezug DIN EN 62561-(1+2)

Product 123430 was added to Notepad.

Product 123430 was added to the cart.

Part No. 123435 FS 22 16 10 3500 SK AL V2A

GTIN 4013364129023, Customs tariff No. (EU): 85389099, Gross weight: 3.42 kg, PU: 1.00 Stk.


Images

Additional information

Fangstangen für Metalldächer Höhe 3500mm
Fangstangen für Metalldächer
zum Schutz von Lichtkuppeln
oder Dachaufbauten auf Metalldächern.
Anpassung an die Dachneigung bis max. 10 Grad möglich.
Fangstangen dimensioniert nach
Eurocode 1 (DIN EN 1991-1-4 + DIN EN 1991-1-4/NA)
für eine max. Böenwindgeschwindigkeit bis 114 km/h.
Zur Befestigung mit 4 Leitungshaltern
auf Stehfalz- oder Rundstehfalzdächern
z.B. Art.-Nr. 365 059, 223 010 oder 223 070
(sind separat zu bestellen)
Streben aus NIRO für die Aufnahme der 4 Leitungshaltern
Bei der Verwendung dieser vier Dachleitungshalter
(Klemmen) für das entsprechende Dachprofil ist die
Blitzstromtragfähigkeit mit 100 kA (10/350) gegeben.
Gesamtlänge (Ø22 / 16 / 10 mm): 3500 mm
Profilabstand: 230-520 mm
Befestigung: [4x] Ø11 mm
Werkstoff Streben: NIRO
Werkstoff Fangstange: Al / NIRO
Normenbezug: DIN EN 62561-(1+2)

Fabrikat: DEHN
Typ: FS 22 16 10 3500 SK AL V2A
Art.-Nr.: 123435
oder gleichwertig.

Certificates

 

Technical data

Gesamtlänge (Ø22 / 16 / 10 mm) 3500 mm
Max. Böenwindgeschwindigkeit 114 km/h
Profilabstand 230-520 mm
Befestigung [4x] Ø11 mm
Werkstoff Streben NIRO
Werkstoff Fangstange Al / NIRO
Normenbezug DIN EN 62561-(1+2)

Product 123435 was added to Notepad.

Product 123435 was added to the cart.


back to top