Clamps for Ex Zone 2/22

Clamps with spring washer for connecting round / flat conductors in Ex zone 2/22. The clamps are secured against self-loosening according to DIN EN 62305-3 Supplement 2.

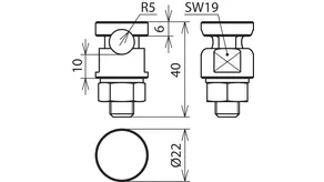
UNI disconnecting clamp 200 kA (10/350 μs) with spring washer for two round conductors

1 Product

Part No. 459200 UTK 200 2X10 FL30 ZP V2A

GTIN 4013364155527, Customs tariff No. (EU): 85359000, Gross weight: 132.00 g, PU: 1.00 pc(s)


Images

Additional information

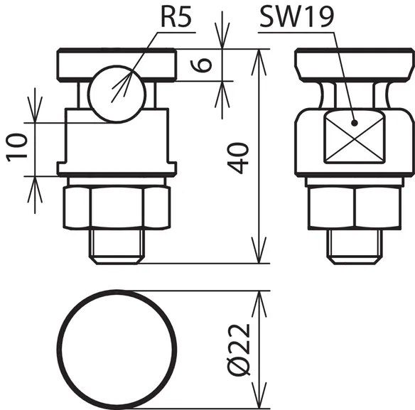
UNI disconnecting clamp (200 kA) for two round conductors, StSt
UNI-Disconnecting clamp for connecting an air-termination rod or earth entry to a round conductor, with intermediate plate for Rd and Fl, lightning current carrying capability up to 200 kA (10/350)
Material: StSt
Clamping range Rd / Rd: 10 / 10 mm
Clamping range Rd / Fl: 10 / 30 mm
Lightning current carrying capability (10/350 µs): *)
Standard: based on EN 62561-1

Brand: DEHN
Type: UTK 200 2X10 FL30 ZP V2A
Part No.: 459200
or equivalent.

Certificates

 

Technical data

Material StSt
Clamping range Rd / Rd 10 / 10 mm
Clamping range Rd / Fl 10 / 30 mm
Lightning current carrying capability (10/350 µs) ? *)
Standard based on EN 62561-1
*) For exact assignment see test certificate.

Product 459200 was added to Notepad.

Product 459200 was added to the cart.


UNI disconnecting clamp 200 kA (10/350 μs) with spring washer for earth entry rods

1 Product

Part No. 459219 UTK 200 8.10 16 ZP V2A

GTIN 4013364158221, Customs tariff No. (EU): 85359000, Gross weight: 136.00 g, PU: 1.00 pc(s)


Images

Additional information

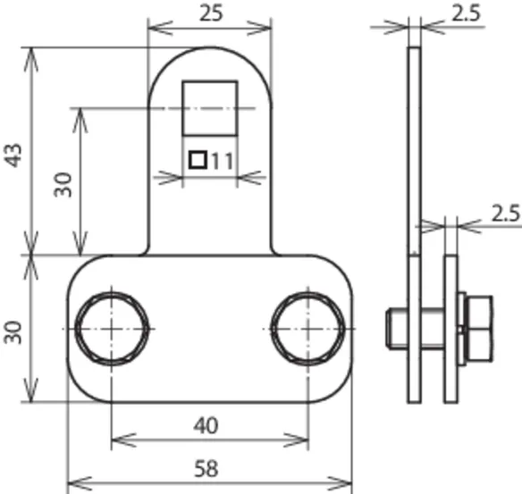
UNI disconnecting clamp (200 kA) for earth entry rods
UNI-Disconnecting clamp for connecting an air-termination rod or earth entry to a round conductor, with intermediate plate for Rd and Fl, lightning current carrying capability up to 200 kA (10/350)
Material: StSt
Clamping range Rd / Rd: 8-10 / 16 mm
Lightning current carrying capability (10/350 µs): *)
Standard: based on EN 62561-1

Brand: DEHN
Type: UTK 200 8.10 16 ZP V2A
Part No.: 459219
or equivalent.

Certificates

 

Technical data

Material StSt
Clamping range Rd / Rd 8-10 / 16 mm
Lightning current carrying capability (10/350 µs) ? *)
Standard based on EN 62561-1
*) For exact assignment see test certificate.

Product 459219 was added to Notepad.

Product 459219 was added to the cart.


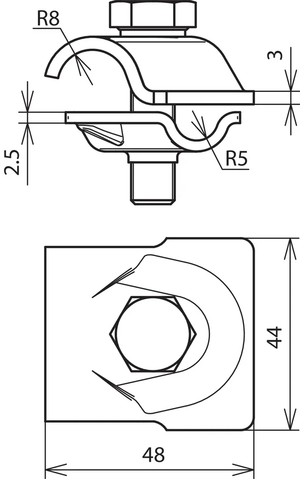
Clamping piece 200 kA (10/350 μs) with spring washer

1 Product

Part No. 380209 KS 200 B11.11 FL30X4 V2A

GTIN 4013364158269, Customs tariff No. (EU): 85359000, Gross weight: 110.00 g, PU: 1.00 pc(s)


Images

Additional information

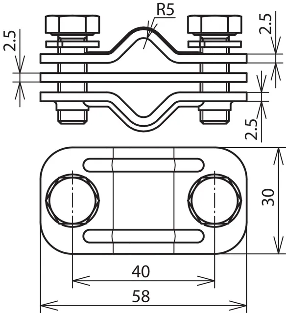
Clamping piece (200 kA) StSt with spring washer
Clamping piece for connecting flat material
to construction elements
Design for flat conductors
Lightning current carrying capability 200 kA (10/350)
Material: StSt
Clamping range Fl: 30 x 4 mm
Lightning current carrying capability (10/350 µs): *)
Standard: based on EN 62561-1

Brand: DEHN
Type: KS 200 B11.11 FL30X4 V2A
Part No.: 380209
or equivalent.

Certificates

 

Technical data

Material StSt
Clamping range Fl 30 x 4 mm
Lightning current carrying capability (10/350 µs) ? *)
Standard based on EN 62561-1
*) For exact classification, see test certificate.

Product 380209 was added to Notepad.

Product 380209 was added to the cart.


KS connector 200 kA (10/350 μs) with spring washer

1 Product

Part No. 301209 KSV 200 10 FER V2A

GTIN 4013364158252, Customs tariff No. (EU): 85359000, Gross weight: 67.00 g, PU: 1.00 pc(s)


Images

Additional information

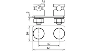
KS connector (200 kA) with spring washer, StSt
KS connector for connecting round conductors to flat profiles, lightning current carrying capability up to 200 kA (10/350)
Material: StSt
Clamping range Rd: 10 mm
Lightning current carrying capability (10/350 µs): *)
Standard: based on EN 62561-1

Brand: DEHN
Type: KSV 200 10 FER V2A
Part No.: 301209
or equivalent.

Certificates

 

Technical data

Material StSt
Clamping range Rd 10 mm
Lightning current carrying capability (10/350 µs) ? *)
Standard based on EN 62561-1
*) For exact classification, see test certificate.

Product 301209 was added to Notepad.

Product 301209 was added to the cart.


MV clamp 200 kA (10/350 μs) with spring washer for round conductors

1 Product

Part No. 390209 MVK 200 8.10 SKM10X30 V2A

GTIN 4013364158245, Customs tariff No. (EU): 85359000, Gross weight: 103.50 g, PU: 1.00 pc(s)


Images

Additional information

MV clamp for round conductors
MV clamp for universal use as cross, T and parallel clamp, without intermediate plate for Rd, lightning current carrying capability up to 200 kA (10/350)
Material: StSt
Clamping range Rd / Rd: 8-10 mm
Lightning current carrying capability (10/350 µs): *)
Standard: based on EN 62561-1

Brand: DEHN
Type: MVK 200 8.10 SKM10X30 V2A
Part No.: 390209
or equivalent.

Certificates

 

Technical data

Material StSt
Clamping range Rd / Rd 8-10 mm
Lightning current carrying capability (10/350 µs) ? *)
Standard based on EN 62561-1
*) For exact classification, see test certificate.

Product 390209 was added to Notepad.

Product 390209 was added to the cart.


MV clamp 200 kA (10/350 μs) with spring washer for air-termination rods

1 Product

Part No. 392209 MVK 200 8.10 16 SKM10X40 FSC V2A

GTIN 4013364158238, Customs tariff No. (EU): 85359000, Gross weight: 140.00 g, PU: 1.00 pc(s)


Images

Additional information

MV clamp for air-termination rods
MV clamp for universal use as cross, T and parallel clamp, without intermediate plate for Rd, lightning current carrying capability up to 200 kA (10/350)
Material: StSt
Clamping range Rd / Rd: 8-10 / 16 mm
Lightning current carrying capability (10/350 µs): *)
Standard: based on EN 62561-1

Brand: DEHN
Type: MVK 200 8.10 16 SKM10X40 FSC V2A
Part No.: 392209
or equivalent.

Certificates

 

Technical data

Material StSt
Clamping range Rd / Rd 8-10 / 16 mm
Lightning current carrying capability (10/350 µs) ? *)
Standard based on EN 62561-1
*) For exact classification, see test certificate.

Product 392209 was added to Notepad.

Product 392209 was added to the cart.


KS connector 100 kA (10/350 μs), one-piece, with spring washer

2 Products

Part No. 301010 KSV 7.10 FER STTZN

GTIN 4013364067028, Customs tariff No. (EU): 85359000, Gross weight: 62.00 g, PU: 100.00 pc(s)


Images

Additional information

KS connector, one-piece, St/tZn
KS connector for connection to flat profiles
Material of clamping screw: St/tZn
Material of clamp: ZDC
Clamping range Rd: 7-10 mm
Type: + spring washer
Lightning current carrying capability (10/350 µs): *)
Standard: EN 62561-1

Brand: DEHN
Type: KSV 7.10 FER STTZN
Part No.: 301010
or equivalent.

Certificates

 

Technical data

Material of clamping screw St/tZn
Material of clamp ZDC
Clamping range Rd 7-10 mm
Type + spring washer
Lightning current carrying capability (10/350 µs) = *)
Standard EN 62561-1
*) For exact classification, see test certificate.

Product 301010 was added to Notepad.

Product 301010 was added to the cart.

Part No. 301017 KSV 6.10 FER CU

GTIN 4013364053502, Customs tariff No. (EU): 85359000, Gross weight: 79.60 g, PU: 100.00 pc(s)


Images

Additional information

KS connector, one-piece, Cu
KS connector for connection to flat profiles
Material of clamping screw: Cu
Material of clamp: RCB
Clamping range Rd: 6-10 mm
Connection (single-wire / multi-wire): 25-70 mm2
Type: + spring washer
Lightning current carrying capability (10/350 µs): *)
Standard: EN 62561-1

Brand: DEHN
Type: KSV 6.10 FER CU
Part No.: 301017
or equivalent.

Certificates

 

Technical data

Material of clamping screw Cu
Material of clamp RCB
Clamping range Rd 6-10 mm
Connection (single-wire / multi-wire) 25-70 mm2
Type + spring washer
Lightning current carrying capability (10/350 µs) = *)
Standard EN 62561-1
*) For exact classification, see test certificate.

Product 301017 was added to Notepad.

Product 301017 was added to the cart.


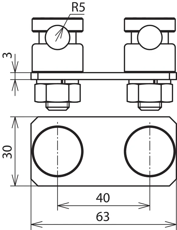
KS connector 100 kA (10/350 μs), two-piece, with spring washer

1 Product

Part No. 301229 AP 2X6.10 V2A

GTIN 4013364101562, Customs tariff No. (EU): 85389099, Gross weight: 167.00 g, PU: 1.00 pc(s)


Images

Additional information

KS connector, two-part, distance: 40 mm, StSt
Connecting plate
For connecting the HVI® conductor to the air-termination tip
With two KS connectors including spring washer
Material of clamping screw: StSt
Material of clamp: StSt
Clamping range Rd: 6-10 mm
Type: + spring washer
Lightning current carrying capability (10/350 µs): / *)
Standard: EN 62561-1

Brand: DEHN
Type: AP 2X6.10 V2A
Part No.: 301229
or equivalent.

Certificates

 

Technical data

Material of clamping screw StSt
Material of clamp StSt
Clamping range Rd 6-10 mm
Type + spring washer
Lightning current carrying capability (10/350 µs) = / & *)
Standard EN 62561-1
*) For exact classification, see test certificate.

Product 301229 was added to Notepad.

Product 301229 was added to the cart.


back to top