DEHNcon-H
:quality(98)/www.dehn-international.com/store/f/59761193/HDVORSCHAU/819251a1_16-9.jpg)
:quality(98)/www.dehn-international.com/store/f/59761193/HDVORSCHAU/819251a1_16-9.jpg)
– Neues System für die Getrennte Fangeinrichtung von Sende-/Empfangsanlagen (Parabol-, terrestrische Antennen) oder von gesamten Gebäuden oder Gebäudeteilen
– Optisch angepasste Ausführung durch innere Verlegung der HVI light Leitung im Stützrohr, reduzierte Abmessung der Stützrohre (Al-Rohr 40x5 mm) mit geringem Gewicht des gesamten Aufbaus, auch für die Montage an bestehenden Antennenstandrohren
– Der innenliegende Endverschluss ist mit einem flexiblen NIRO-Band für den Anschluss an den Potentialausgleich am unteren Ende des Stützrohres herausgeführt
– Hochspannungsfeste isolierte Ableitung zum Einhalten des Trennungsabstandes zu elektrisch leitenden Teilen nach DIN EN 62305-3 (VDE 0185-305-3)
– Äquivalenter Trennungsabstand s ≤ 45 cm (in Luft) oder s ≤ 90 cm (fester Baustoff)
– Stützrohr mit Isolierstrecke aus glasfaserverstärktem Kunststoff (GFK) Rohr Ø30 mm
– Materialfaktor km = 0,7
– Farbe lichtgrau, UV-stabilisiert
Die HVI light Leitung erfüllt die Anforderungen nach DIN IEC/TS 62561-8 (VDE V 0185-561-8).
Details
:quality(98)/www.dehn-international.com/store/f/59761194/HDVORSCHAU/819251a9_16-9.jpg)
:quality(98)/www.dehn-international.com/store/f/59761194/HDVORSCHAU/819251a9_16-9.jpg)
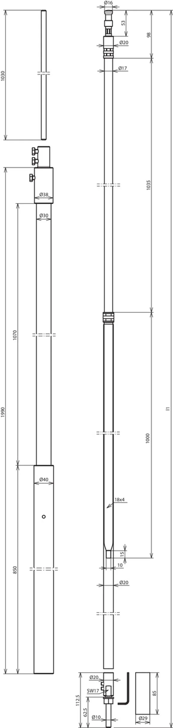
Part No. 819255 HVI LI 20 L6M SR1990 FSP500 GFK AL V2A
GTIN 4013364255371, Customs tariff No. (EU): 85389099, Gross weight: 6.84 kg, PU: 1.00 Stk.
PredecessorTechnical data
Werkstoff Stützrohr | GFK / Al |
Länge Stützrohr | 1990 mm |
Länge Fangspitze | 500 mm |
Werkstoff Leiter | Cu |
Äquivalenter Trennungsabstand s (in Luft) | ≤ 45 cm |
Mindestbestelllänge | 6 m |
Max. Böenwindgeschwindigkeit | (max. freie Länge 1890 mm, 1x HVI light innen) 240 km/h |
Max. freie Länge | 1890 mm |
Min. Einspannlänge | 600 mm |
Normenbezug | DIN IEC/TS 62561-8 (VDE V 0185-561-8) |
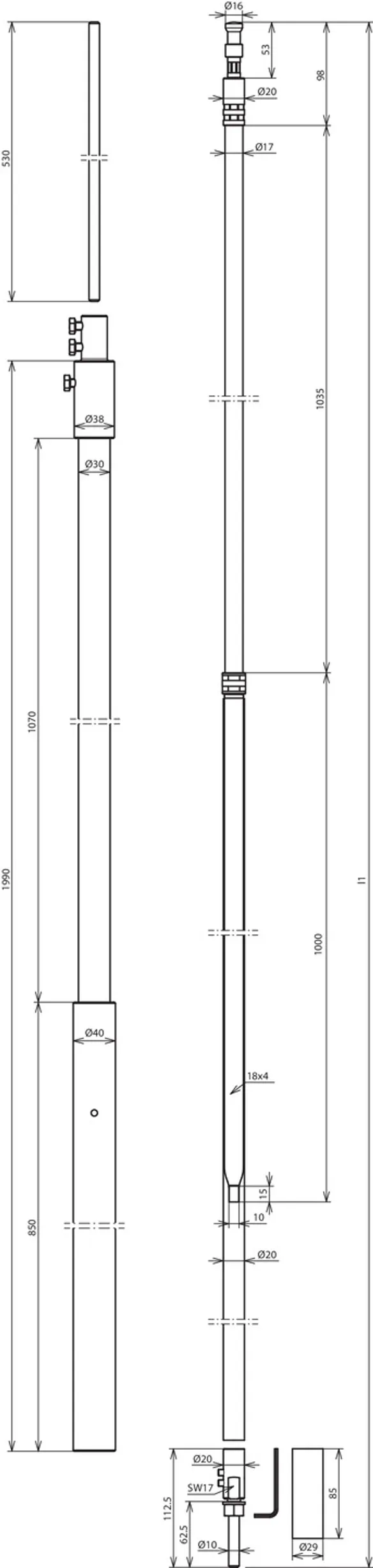
Part No. 819256 HVI LI 20 L6M SR1990 FSP1000 GFK AL V2A
GTIN 4013364255388, Customs tariff No. (EU): 85389099, Gross weight: 7.14 kg, PU: 1.00 Stk.
PredecessorTechnical data
Werkstoff Stützrohr | GFK / Al |
Länge Stützrohr | 1990 mm |
Länge Fangspitze | 1000 mm |
Werkstoff Leiter | Cu |
Äquivalenter Trennungsabstand s (in Luft) | ≤ 45 cm |
Mindestbestelllänge | 6 m |
Max. Böenwindgeschwindigkeit | (max. freie Länge 2390 mm, 1x HVI light innen) 200 km/h |
Max. freie Länge | 2390 mm |
Min. Einspannlänge | 600 mm |
Normenbezug | DIN IEC/TS 62561-8 (VDE V 0185-561-8) |
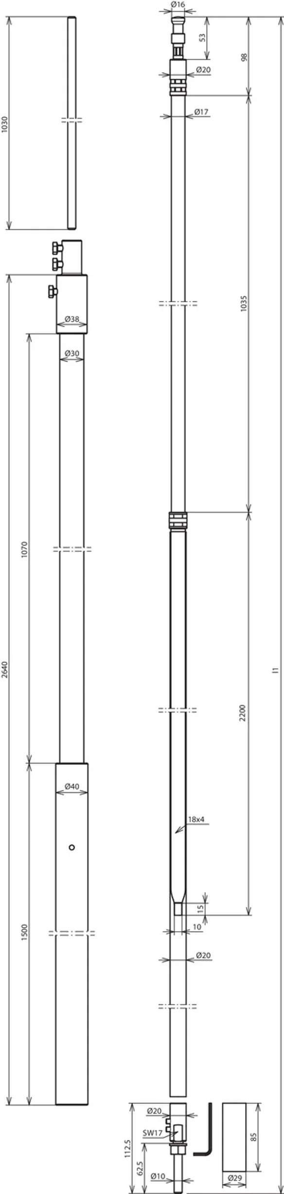
Part No. 819257 HVI LI 20 L6M SR2640 FSP500 GFK AL V2A
GTIN 4013364255395, Customs tariff No. (EU): 85389099, Gross weight: 7.79 kg, PU: 1.00 Stk.
PredecessorTechnical data
Werkstoff Stützrohr | GFK / Al |
Länge Stützrohr | 2640 mm |
Länge Fangspitze | 500 mm |
Werkstoff Leiter | Cu |
Äquivalenter Trennungsabstand s (in Luft) | ≤ 45 cm |
Mindestbestelllänge | 6 m |
Max. Böenwindgeschwindigkeit | (max. freie Länge 2540 mm, 1x HVI light innen) 240 km/h |
Max. freie Länge | 2540 mm |
Min. Einspannlänge | 600 mm |
Normenbezug | DIN IEC/TS 62561-8 (VDE V 0185-561-8) |
Part No. 819258 HVI LI 20 L6M SR2640 FSP1000 GFK AL V2A
GTIN 4013364255418, Customs tariff No. (EU): 85389099, Gross weight: 8.09 kg, PU: 1.00 Stk.
PredecessorTechnical data
Werkstoff Stützrohr | GFK / Al |
Länge Stützrohr | 2640 mm |
Länge Fangspitze | 1000 mm |
Werkstoff Leiter | Cu |
Äquivalenter Trennungsabstand s (in Luft) | ≤ 45 cm |
Mindestbestelllänge | 6 m |
Max. Böenwindgeschwindigkeit | (max. freie Länge 3040 mm, 1x HVI light innen) 201 km/h |
Max. freie Länge | 3040 mm |
Min. Einspannlänge | 600 mm |
Normenbezug | DIN IEC/TS 62561-8 (VDE V 0185-561-8) |