Fangstangen GFK/Al

Fangstange zum Aufbau von Getrennten Fangeinrichtungen z. B. auf Flachdächern, errichtet im Betonsockel mit Keiltechnik.

Für die Bestimmung des Trennungsabstandes (Länge des Distanzstabes) wird der Materialfaktor km = 0,7 verwendet.
Durchmesser 16 mm, UV-stabilisiert, Farbe lichtgrau, Dauertemperaturbereich -50 bis +100 °C.

Die Fangstangen sind mit 2 Stück Betonsockel (Gewicht 17 kg) nach Eurocode 1 (DIN EN 1991-1-4 + DIN EN 1991-1-4/NA) dimensioniert.
Der stapelbare Betonsockel (Art.-Nr. 102 010) und die Unterlegplatte (Art.-Nr. 102 050) sind separat zu bestellen.

Die Fangstangen GFK/Al erfüllen die Anforderungen nach DIN/IEC TS 62561-8.

Ausführung verpresst

2 Products

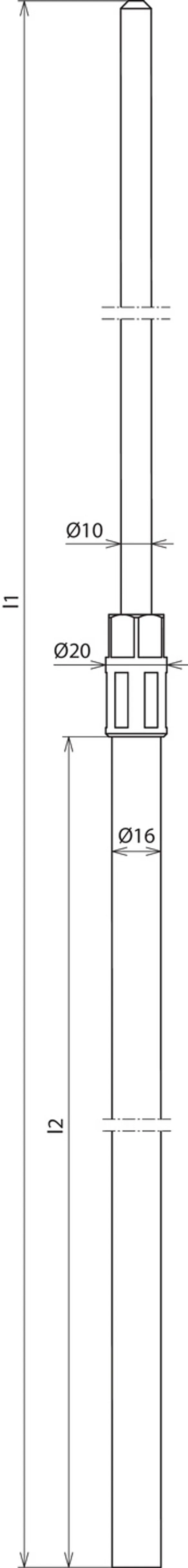
Part No. 106207 FS 16 10 1660 GFK AL

GTIN 4013364127623, Customs tariff No. (EU): 85389099, Gross weight: 493.00 g, PU: 10.00 Stk.


Images

Additional information

Fangstange GFK/Al Ausführung verpresst Gesamtlänge 1660mm
Fangstangen GFK/Al
zum Aufbau von Getrennten Fangeinrichtungen z.B.
auf Flachdächern, errichtet im Betonsockel mit Keiltechnik.
Zur Einhaltung des Trennungsabstandes nach DIN EN 62305-3 (VDE 0185-305-3).
Die Fangstangen sind nach
Eurocode 1 (DIN EN 1991-1-4 + DIN EN 1991-1-4/NA) dimensioniert.
Distanzstab aus glasfaserverstärktem Kunststoff (GFK) Ø16 mm,
Materialfaktor km = 0,7, UV-stabilisiert, Farbe lichtgrau
Ausführung verpresst
Gesamtlänge: 1660 mm
Isolierstrecke: 635 mm
Werkstoff Fangspitze / Buchse: Al
Werkstoff Distanzstück: GFK
Max. Böenwindgeschwindigkeit (1x Sockel 17 kg, Halterabstand 1000 mm, Al Ø8 mm): 114 km/h
Max. Böenwindgeschwindigkeit (2x Sockel 17 kg, Halterabstand 1000 mm, Al Ø8 mm): 129 km/h
Normenbezug: DIN IEC/TS 62561-8 (VDE V 0185-561-8)

Fabrikat: DEHN
Typ: FS 16 10 1660 GFK AL
Art.-Nr.: 106207
oder gleichwertig.

Certificates

 

Technical data

Gesamtlänge (l1) 1660 mm
Isolierstrecke (l2) 635 mm
Werkstoff Fangspitze / Buchse Al
Max. Böenwindgeschwindigkeit (1x Sockel 17 kg, Halterabstand 1000 mm, Al Ø8 mm) 114 km/h
Max. Böenwindgeschwindigkeit (2x Sockel 17 kg, Halterabstand 1000 mm, Al Ø8 mm) 129 km/h
Normenbezug DIN IEC/TS 62561-8 (VDE V 0185-561-8)

Product 106207 was added to Notepad.

Product 106207 was added to the cart.

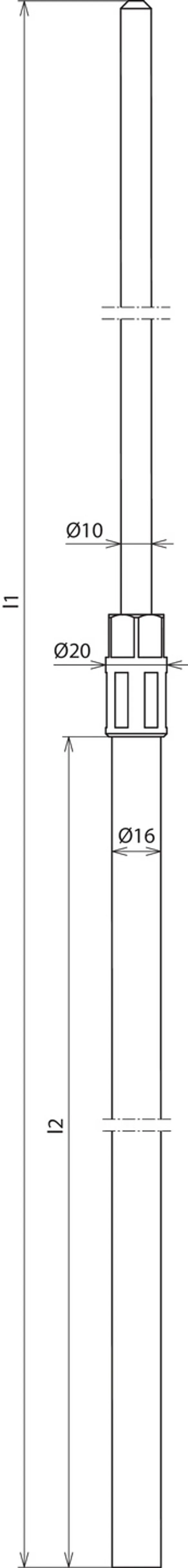
Part No. 106210 FS 16 10 2000 GFK AL

GTIN 4013364127630, Customs tariff No. (EU): 85389099, Gross weight: 625.00 g, PU: 10.00 Stk.


Images

Additional information

Fangstange GFK/Al Ausführung verpresst Gesamtlänge 2000mm
Fangstangen GFK/Al
zum Aufbau von Getrennten Fangeinrichtungen z.B.
auf Flachdächern, errichtet im Betonsockel mit Keiltechnik.
Zur Einhaltung des Trennungsabstandes nach DIN EN 62305-3 (VDE 0185-305-3).
Die Fangstangen sind nach
Eurocode Fangstange GFK/Al Ausführung verpresst Gesamtlänge 1660mmdimensionert.
Fangstangen GFK/Al
zum Aufbau von Getrennten Fangeinrichtungen z.B.
auf Flachdächern, errichtet im Betonsockel mit Keiltechnik.
Zur Einhaltung des Trennungsabstandes nach DIN EN 62305-3 (VDE 0185-305-3).
Die Fangstangen sind nach
Eurocode 1 (DIN EN 1991-1-4 + DIN EN 1991-1-4/NA) dimensioniert.
Distanzstab aus glasfaserverstärktem Kunststoff (GFK) Ø16 mm,
Materialfaktor km = 0,7, UV-stabilisiert, Farbe lichtgrau
Ausführung verpresst
Distanzstab aus glasfaserverstärktem Kunststoff (GFK) Ø16 mm,
Materialfaktor km = 0,7, UV-stabilisiert, Farbe lichtgrau
Ausführung verpresst
Gesamtlänge: 2000 mm
Isolierstrecke: 975 mm
Werkstoff Fangspitze / Buchse: Al
Werkstoff Distanzstück: GFK
Max. Böenwindgeschwindigkeit (1x Sockel 17 kg, Halterabstand 1000 mm, Al Ø8 mm): 93 km/h
Max. Böenwindgeschwindigkeit (2x Sockel 17 kg, Halterabstand 1000 mm, Al Ø8 mm): 105 km/h
Normenbezug: DIN IEC/TS 62561-8 (VDE V 0185-561-8)

Fabrikat: DEHN
Typ: FS 16 10 2000 GFK AL
Art.-Nr.: 106210
oder gleichwertig.

Certificates

 

Technical data

Gesamtlänge (l1) 2000 mm
Isolierstrecke (l2) 975 mm
Werkstoff Fangspitze / Buchse Al
Max. Böenwindgeschwindigkeit (1x Sockel 17 kg, Halterabstand 1000 mm, Al Ø8 mm) 93 km/h
Max. Böenwindgeschwindigkeit (2x Sockel 17 kg, Halterabstand 1000 mm, Al Ø8 mm) 105 km/h
Normenbezug DIN IEC/TS 62561-8 (VDE V 0185-561-8)

Product 106210 was added to Notepad.

Product 106210 was added to the cart.


Ausführung variabel mit Gewinde M10

z. B. für Fangspitze Art.-Nr. 101 001, Fangspitze mit MV-Klemme Art.-Nr. 105 071 (für Kreuzungspunkte) oder MV-Klemme zum Überspannen Art.-Nr. 105 079.

2 Products

Part No. 106217 DIST 16 M10 675 GFK

GTIN 4013364128811, Customs tariff No. (EU): 85389099, Gross weight: 280.00 g, PU: 10.00 Stk.

Predecessor

Images

Additional information

Fangstange GFK/Al mit Gewinde M10 Gesamtlänge 675mm
Fangstangen GFK/Al
zum Aufbau von Getrennten Fangeinrichtungen z.B. auf Flachdächern, errichtet im Betonsockel mit Keiltechnik.
Zur Einhaltung des Trennungsabstandes nach DIN EN 62305-3 (VDE 0185-305-3).
Distanzstab aus glasfaserverstärktem Kunststoff (GFK) Ø16 mm, Materialfaktor km = 0,7
UV-stabilisiert, Farbe lichtgrau
Ausführung variabel mit Gewinde M10
z. B. für Fangspitze Art.-Nr. 101 001, Fangspitze mit MV-Klemme Art.-Nr. 105 071
Gesamtlänge: 675 mm
Isolierstrecke: 635 mm
Werkstoff Fangspitze / Buchse: Al
Werkstoff Distanzstück: GFK
Normenbezug: DIN IEC/TS 62561-8 (VDE V 0185-561-8)

Fabrikat: DEHN
Typ: DIST 16 M10 675 GFK
Art.-Nr.: 106217
oder gleichwertig.

Certificates

 

Technical data

Gesamtlänge (l1) 675 mm
Isolierstrecke (l2) 635 mm
Werkstoff Fangspitze / Buchse Al
Normenbezug DIN IEC/TS 62561-8 (VDE V 0185-561-8)

Product 106217 was added to Notepad.

Product 106217 was added to the cart.

Part No. 106220 DIST 16 M10 1015 GFK

GTIN 4013364128828, Customs tariff No. (EU): 85389099, Gross weight: 410.00 g, PU: 10.00 Stk.


Images

Additional information

Fangstange GFK/Al mit Gewinde M10 Gesamtlänge 1015mm
Fangstangen GFK/Al
zum Aufbau von Getrennten Fangeinrichtungen z.B. auf Flachdächern, errichtet im Betonsockel mit Keiltechnik.
Zur Einhaltung des Trennungsabstandes nach DIN EN 62305-3 (VDE 0185-305-3).
Distanzstab aus glasfaserverstärktem Kunststoff (GFK) Ø16 mm, Materialfaktor km = 0,7
UV-stabilisiert, Farbe lichtgrau
Ausführung variabel mit Gewinde M10
z. B. für Fangspitze Art.-Nr. 101 001, Fangspitze mit MV-Klemme Art.-Nr. 105 071
Gesamtlänge: 1015 mm
Isolierstrecke: 975 mm
Werkstoff Fangspitze / Buchse: Al
Werkstoff Distanzstück: GFK
Normenbezug: DIN IEC/TS 62561-8 (VDE V 0185-561-8)

Fabrikat: DEHN
Typ: DIST 16 M10 1015 GFK
Art.-Nr.: 106220
oder gleichwertig.

Certificates

 

Technical data

Gesamtlänge (l1) 1015 mm
Isolierstrecke (l2) 975 mm
Werkstoff Fangspitze / Buchse Al
Normenbezug DIN IEC/TS 62561-8 (VDE V 0185-561-8)

Product 106220 was added to Notepad.

Product 106220 was added to the cart.


back to top