Supporting Tube with HVI power Conductor

High-voltage-resistant, insulated down conductor for maintaining the separation distance to electrically conductive parts according to IEC/EN 62305-3.

Applicable up to an equivalent separation distance s ≤ 90 cm (in air) or s ≤ 180 cm (solid material).

Optically optimised installation of the HVI power Conductor inside the supporting tube creates reduced area exposed to wind.

Minimum order length 6 m. The conductor cannot be returned as it is made to order.

The conductor length has to be stated when ordering (in steps of 0.5 m).

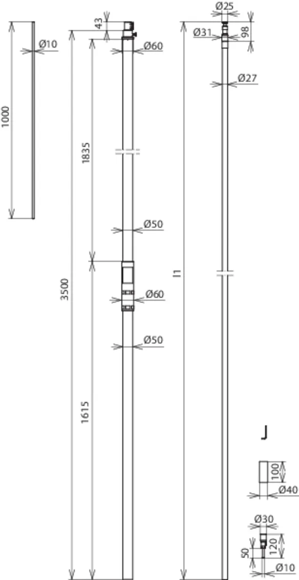
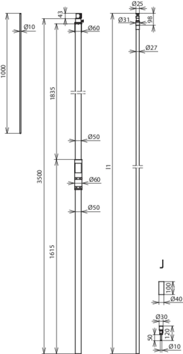
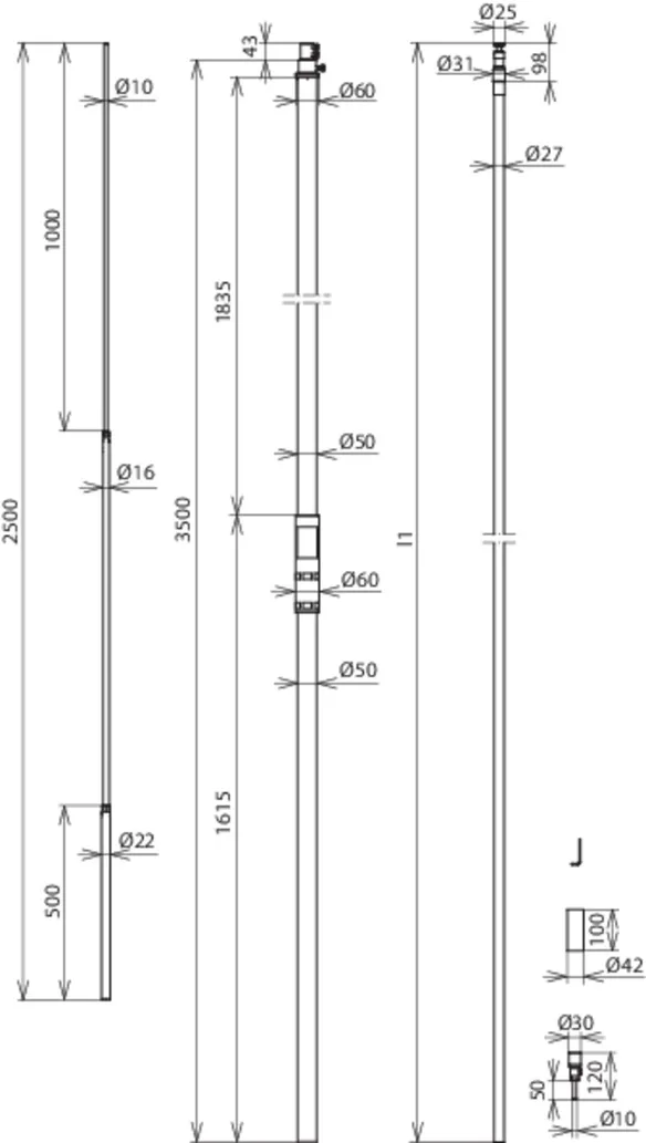
HVI power Conductor inside the supporting tube with air-termination tip

Supporting tube with internal sealing end and EB spring element.
Air-termination tip, StSt, Ø10 mm, length 1000 mm.

1 Product

Part No. 819430 HVI P 27 L6M SR3500 FSP1000 GFK V2A

GTIN 4013364152236, Customs tariff No. (EU): 85389099, Gross weight: 16.00 kg, PU: 1.00 pc(s)


Images

Additional information

HVI power Conductor installed inside the supporting tube, 3500 mm long, GRP / StSt
HVI power Conductor installed inside the supporting tube
High-voltage-resistant, insulated down conductor for
keeping the separation distance from conductive parts as per IEC/EN 62305-3
Equivalent separation distance s =< 90 cm (in air)
or s =< 180 cm (solid material)
The supporting tubes with HVI power Conductor are dimensioned according to Eurocode 1 (DIN EN 1991-1-4 + DIN EN 1991-1-4/NA)
HVI power Conductor installed inside the supporting tube, with special sealing end and air-termination tip, Ø10 mm, 1000 mm long
Material of supporting tube: GRP / StSt
Length of supporting tube: 3500 mm
Transport length: 3500 mm
Diameter Ø conductor: 27 mm
Colour of conductor: black ●
Material of conductor: Cu
Minimum order length: 6 m
Maximum order length: 35 m
Max. free length with air-termination tip (wall mounting): 3500 mm
Max. gust wind speed: See wind load pamphlet
Standard: DIN IEC/TS 62561-8 (VDE V 0185-561-8)

Brand: DEHN
Type: HVI P 27 L6M SR3500 FSP1000 GFK V2A
Part No.: 819430
or equivalent.

Certificates

 

Technical data

Material of supporting tube GRP / StSt
Length of supporting tube 3500 mm
Transport length 3500 mm
Diameter Ø conductor 27 mm
Colour of conductor black ●
Material of conductor Cu
Minimum order length 6 m
Maximum order length 35 m
Suitable for installation outside the supporting tube no
Max. free length with air-termination tip (wall mounting) 3500 mm
Standard DIN IEC/TS 62561-8 (VDE V 0185-561-8)

Product 819430 was added to Notepad.

Product 819430 was added to the cart.


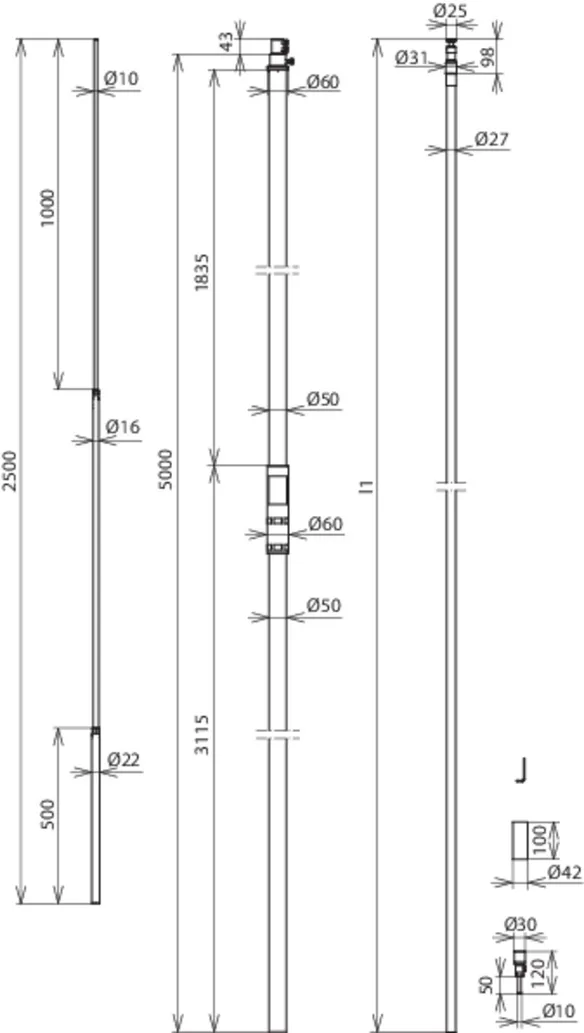
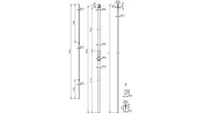
HVI power Conductor inside the supporting tube with air-termination rod

Supporting tube with internal sealing end and EB spring element.
Air-termination rod, StSt, Ø22 / 16 / 10 mm, length 2500 mm.

2 Products

Part No. 819431 HVI P 27 L6M SR3500 FS2500 GFK V2A

GTIN 4013364155442, Customs tariff No. (EU): 85389099, Gross weight: 17.60 kg, PU: 1.00 pc(s)


Images

Additional information

HVI power Conductor inside supporting tube with air-termination rod, 3500 mm long, GRP / StSt
HVI power Conductor installed inside the supporting tube
High-voltage-resistant, insulated down conductor for
keeping the separation distance from conductive parts as per IEC/EN 62305-3
Equivalent separation distance s =< 90 cm (in air)
or s =< 180 cm (solid material)
The supporting tubes with HVI power Conductor are dimensioned according to Eurocode 1 (DIN EN 1991-1-4 + DIN EN 1991-1-4/NA)
HVI power Conductor installed inside the supporting tube, with special sealing end and air-termination rod, Ø22/16/10 mm, 2500 mm long
Material of supporting tube: GRP / StSt
Length of supporting tube: 3500 mm
Transport length: 3500 mm
Diameter Ø conductor: 27 mm
Colour of conductor: black ●
Material of conductor: Cu
Minimum order length: 6 m
Maximum order length: 35 m
Max. free length with air-termination rod (wall mounting): 5000 mm
Max. gust wind speed: See wind load pamphlet
Standard: DIN IEC/TS 62561-8 (VDE V 0185-561-8)

Brand: DEHN
Type: HVI P 27 L6M SR3500 FS2500 GFK V2A
Part No.: 819431
or equivalent.

Certificates

 

Technical data

Material of supporting tube GRP / StSt
Length of supporting tube 3500 mm
Transport length 3500 mm
Diameter Ø conductor 27 mm
Colour of conductor black ●
Material of conductor Cu
Minimum order length 6 m
Maximum order length 35 m
Suitable for installation outside the supporting tube no
Max. free length with air-termination rod (wall mounting) 5000 mm
Standard DIN IEC/TS 62561-8 (VDE V 0185-561-8)

Product 819431 was added to Notepad.

Product 819431 was added to the cart.

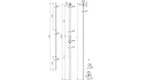
Part No. 819433 HVI P 27 L6M SR5000 FS2500 GFK V2A

GTIN 4013364155459, Customs tariff No. (EU): 85389099, Gross weight: 21.60 kg, PU: 1.00 pc(s)


Images

Additional information

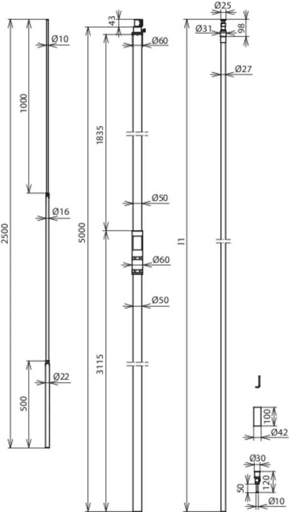
HVI power Conductor inside supporting tube with air-termination rod, 5000 mm long, GRP / StSt
HVI power Conductor installed inside the supporting tube
High-voltage-resistant, insulated down conductor for
keeping the separation distance from conductive parts as per IEC/EN 62305-3
Equivalent separation distance s =< 90 cm (in air)
or s =< 180 cm (solid material)
The supporting tubes with HVI power Conductor are dimensioned according to Eurocode 1 (DIN EN 1991-1-4 + DIN EN 1991-1-4/NA)
HVI power Conductor installed inside the supporting tube, with special sealing end and air-termination rod, Ø22/16/10 mm, 2500 mm long
Material of supporting tube: GRP / StSt
Length of supporting tube: 5000 mm
Transport length: 5000 mm
Diameter Ø conductor: 27 mm
Colour of conductor: black ●
Material of conductor: Cu
Minimum order length: 6 m
Maximum order length: 35 m
Max. free length with air-termination rod (wall mounting): 5500 mm
Max. gust wind speed: See wind load pamphlet
Standard: DIN IEC/TS 62561-8 (VDE V 0185-561-8)

Brand: DEHN
Type: HVI P 27 L6M SR5000 FS2500 GFK V2A
Part No.: 819433
or equivalent.

Certificates

 

Technical data

Material of supporting tube GRP / StSt
Length of supporting tube 5000 mm
Transport length 5000 mm
Diameter Ø conductor 27 mm
Colour of conductor black ●
Material of conductor Cu
Minimum order length 6 m
Maximum order length 35 m
Suitable for installation outside the supporting tube no
Max. free length with air-termination rod (wall mounting) 5500 mm
Standard DIN IEC/TS 62561-8 (VDE V 0185-561-8)

Product 819433 was added to Notepad.

Product 819433 was added to the cart.


back to top