Potential Control

Mesh mat for protection against step voltage

As per VDE/ABB leaflet "Blitzschutz von Schutzhütten" ("Lightning Protection of Shelters")

If the mesh mats are laid so they overlap, around 6x connecting clamps (with anti-corrosion tape part. no. 556 125) are required per mesh mat.
Please refer to the related installation instructions for more precise data.

Note:
The mesh mats are pickled and passivated in accordance with the normative requirements of DIN VDE 0151.

1 Product

Part No. 618214 GMA 250 2000X1000X4 V4A

GTIN 4013364322950, Customs tariff No. (EU): 73141400, Gross weight: 2.00 kg, PU: 1.00 pc(s)


Images

Additional information

Mesh mat for protection against step voltage
based on VDE/ABB Merkblatt "Blitzschutz von Schutzhütten"
(VDE/ABB leaflet "Lightning protection of shelters"),
pickled and passivated in accordance with
standard requirement DIN VDE 0151.
Material: StSt (V4A)
Dimensions: 2000 x 1000 x 4 mm
Mesh size: 250 mm

Brand: DEHN
Type: GMA 250 2000X1000X4 V4A
Part No.: 618214
or equivalent.

 

Technical data

Material StSt (V4A)
Material No. 1.4571 / 1.4404 / 1.4401
ASTM / AISI: 316Ti / 316L / 316
Dimensions (l x w x d) 2000 x 1000 x 4 mm
Mesh size 250 mm

Product 618214 was added to Notepad.

Product 618214 was added to the cart.


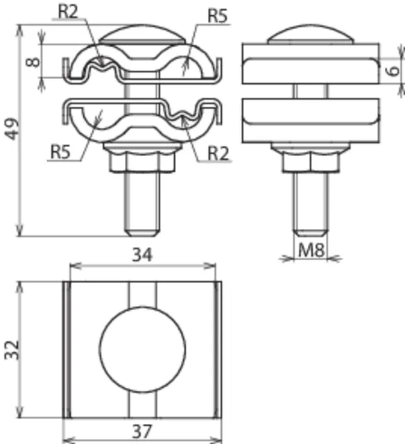
Connecting clamp for mesh mats

Clamp for interconnecting mesh mats or for connecting mesh mats with earth-termination systems.

2 Products

Part No. 540271 MMVK 3.5 8.10 SKM8X30 V4A

GTIN 4013364385306, Customs tariff No. (EU): 85359000, Gross weight: 52.08 g, PU: 50.00 pc(s)


Images

Additional information

Clamp for interconnecting mesh mats or for connecting
mesh mats with earth termination systems with screw M8.
Material: StSt (V4A)
Clamping range Rd: 3-10 mm
Connection (single-wire / multi-wire): 16 mm2
Lightning impulse current carrying capability (10/350 µs): 25 kA
Standard: based on EN 62561-1

Brand: DEHN
Type: MMVK 3.5 8.10 SKM8X30 V4A
Part No.: 540271
or equivalent.

Certificates

 

Technical data

Material StSt (V4A)
Material No. 1.4571 / 1.4404 / 1.4401
ASTM / AISI: 316Ti / 316L / 316
Clamping range Rd 3-10 mm
Connection (single-wire / multi-wire) 16 mm2
Lightning impulse current carrying capability (10/350 µs) 25 kA
Standard based on EN 62561-1

Product 540271 was added to Notepad.

Product 540271 was added to the cart.

Part No. 540270 UEK 8.10 AQ3/4 M8 V4A

GTIN 4013364320536, Customs tariff No. (EU): 85359000, Gross weight: 99.56 g, PU: 50.00 pc(s)


Images

Additional information

Clamp for connecting mesh mats or for connecting
mesh mats with earth-termination systems
with M8 screw and lock nut.
Material: StSt (V4A)
Clamping range Rd / Rd: 8-10 / 3-4 mm
Clamping range Rd / Rd: 3-4 / 3-4 mm
Connection (single-wire / multi-wire): 4-50 mm2
Lightning impulse current carrying capability (10/350 µs): 25 kA
Standard: based on EN 62561-1

Brand: DEHN
Type: UEK 8.10 AQ3/4 M8 V4A
Part No.: 540270
or equivalent.

 

Technical data

Material StSt (V4A)
Material No. 1.4571 / 1.4404 / 1.4401
ASTM / AISI: 316Ti / 316L / 316
Clamping range Rd / Rd 8-10 / 3-4 mm
Clamping range Rd / Rd 3-4 / 3-4 mm
Connection (single-wire / multi-wire) 4-50 mm2
Lightning impulse current carrying capability (10/350 µs) 25 kA
Standard based on EN 62561-1

Product 540270 was added to Notepad.

Product 540270 was added to the cart.


back to top