Antenna earthing – telecommunication systems

Pipe clamp for lighning equipotential bonding of pipes (e.g. antenna poles) according to IEC/EN 62305-3.

With gradually adjustable tensioning strap, for connecting one or two conductors and suitable for through-wiring.

Antenna pipe clamps (complete)

Connection of:
1 conductor Rd Ø10 mm or 1-2 conductors Rd Ø6-8 mm or 4-50 mm2 (solid / stranded).

2 Products

Part No. 540103 BRS 16.89 AK1X10 2X6.8 V2A

GTIN 4013364101302, Customs tariff No. (EU): 85359000, Gross weight: 119.71 g, PU: 10.00 pc(s)

Predecessor

Images

Additional information

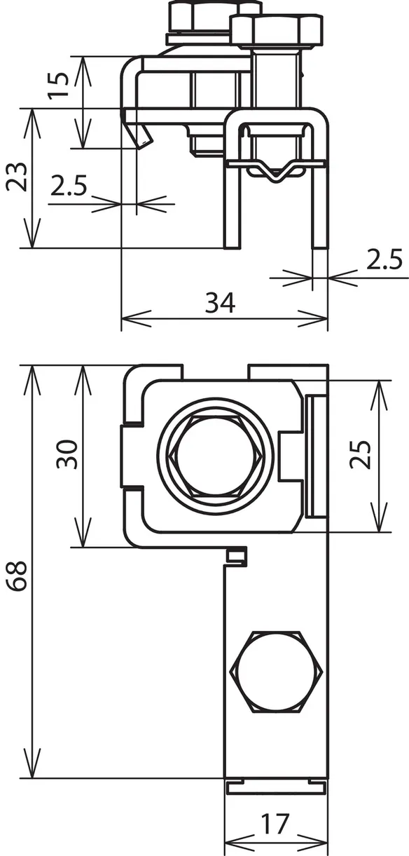
Antenna pipe clamp, StSt (27-89 mm)
Pipe clamp for antennas for a lightning current carrying
capable connection, for example, of antenna masts
and for lightning equipotential bonding according to
DIN EN 62305-3 (VDE 0185-305-3).
With infinitely adjustable tensioning strap for 1 or 2 conductors
and suitable for through-wiring
For connecting 1 conductor Rd 10 mm, 1 or 2 conductors
Rd 6-8 mm or 4-50 mm²
Material: StSt
Clamping range pipe Ø: 16-89 mm (3/8-3'')
Screw: M8 x 20 mm
Material of screw: StSt
Dimensions of strap: 330 x 25 x 0.3 mm
Standard: EN 62561-1

Brand: DEHN
Type: BRS 16.89 AK1X10 2X6.8 V2A
Part No.: 540103
or equivalent.

Certificates

 

Technical data

Material StSt
Clamping range pipe Ø 16-89 mm (3/8-3'')
Screw di M8 x 20 mm
Material of screw StSt
Dimensions of strap (l1 x w x d) 330 x 25 x 0.3 mm
Standard EN 62561-1
*) For exact assignment, see test certificate.

Product 540103 was added to Notepad.

Product 540103 was added to the cart.

Part No. 540100 BRS 16.168 AK1X10 2X6.8 V2A

GTIN 4013364094109, Customs tariff No. (EU): 85359000, Gross weight: 133.00 g, PU: 10.00 pc(s)


Images

Additional information

Antenna pipe clamp, StSt (27-168 mm)
Pipe clamp for antennas for a lightning current carrying
capable connection, for example, of antenna masts
and for lightning equipotential bonding according to
DIN EN 62305-3 (VDE 0185-305-3).
With infinitely adjustable tensioning strap for 1 or 2 conductors
and suitable for through-wiring
For connecting 1 conductor Rd 10 mm, 1 or 2 conductors
Rd 6-8 mm or 4-50 mm²
Material: StSt
Clamping range pipe Ø: 16-168 mm (3/8-6'')
Screw: M8 x 20 mm
Material of screw: StSt
Dimensions of strap: 570 x 25 x 0.3 mm
Standard: EN 62561-1

Brand: DEHN
Type: BRS 16.168 AK1X10 2X6.8 V2A
Part No.: 540100
or equivalent.

Certificates

 

Technical data

Material StSt
Clamping range pipe Ø 16-168 mm (3/8-6'')
Screw di M8 x 20 mm
Material of screw StSt
Dimensions of strap (l1 x w x d) 570 x 25 x 0.3 mm
Standard EN 62561-1
*) For exact assignment, see test certificate.

Product 540100 was added to Notepad.

Product 540100 was added to the cart.


Separate grip head

For combination with endless tensioning strap (Part No. 540 901).
Connection of 1 conductor Rd Ø10 mm or 1-2 conductors Rd Ø6-8 mm or 4-50 mm2 (solid / stranded).

1 Product

Part No. 540110 SPK 25 BRS AK1X10 2X6.8 V2A

GTIN 4013364094116, Customs tariff No. (EU): 85359000, Gross weight: 100.00 g, PU: 50.00 pc(s)


Images

Additional information

Antenna pipe clamp - separate clamping head, StSt
Antenna pipe clamps for a lightning current carrying
capable connection, for example, of antenna masts
and for lightning equipotential bonding according to
DIN EN 62305-3 (VDE 0185-305-3).
With infinitely adjustable tensioning strap for 1 or 2 conductors
and suitable for through-wiring
For connecting 1 conductor Rd 10 mm, 1 or 2 conductors
Rd 6-8 mm or 4-50 mm²
Separate grip head for combination with
endless tensoning strap (Part No. 540 901)
Material: StSt
Screw: M8 x 20 mm
Material of screw: StSt
Standard: EN 62561-1

Brand: DEHN
Type: SPK 25 BRS AK1X10 2X6.8 V2A
Part No.: 540110
or equivalent.

Certificates

 

Technical data

Material StSt
Screw di M8 x 20 mm
Material of screw StSt
Standard EN 62561-1
*) For exact assignment, see test certificate.

Product 540110 was added to Notepad.

Product 540110 was added to the cart.


Endless tensioning strap

For cutting to length, e.g. with snips.

1 Product

Part No. 540901 SPB 25X0.3 L100M V2A

GTIN 4013364076525, Customs tariff No. (EU): 73269098, Gross weight: 6.30 kg, PU: 1.00 pc(s)


Images

Additional information

Pipe clamps for tensioning strap for Ex areas
Earthing pipe clamp for combination with various
fastening elements or connection components
Material: StSt
Dimensions of strap: 25 x 0.3 mm

Brand: DEHN
Type: SPB 25X0.3 L100M V2A
Part No.: 540901
or equivalent.

Certificates

 

Technical data

Material StSt
Dimensions of strap (w x d) 25 x 0.3 mm

Product 540901 was added to Notepad.

Product 540901 was added to the cart.


back to top