Tubo autosoportado con el cable HVI power

Electrodo de dispersión aislado resistente a la alta tensión para asegurar la distancia de separación de las partes con conductividad eléctrica según EN 62305-3 (VDE 0185-305-3).
Para su utilización hasta una distancia de separación s ≤ 90 cm (en aire) o s ≤ 180 cm (en material de construcción sólido).

Tendido interior del cable HVI power en el tubo de soporte con poca superficie expuesta al viento.
La longitud mínima de pedido es 6 m. Debe indicarse la longitud del conductor en el pedido.

Por la producción relacionada al pedido (confección de la longitud del cable) el cable no puede restituirse.
Indicar la longitud del conductor en el pedido (en múltiplos de 0,5 m).

Cable HVI power en el tubo autosoportado con punta captadora

Tubo de soporte con terminal interno y elemento de resorte PA con compensación de potencial.
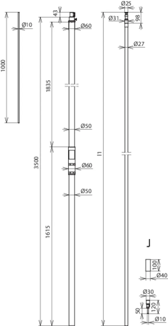
Punta captadora en INOX Ø10 mm, longitud 1000 mm.

1 Product

Part No. 819430 HVI P 27 L6M SR3500 FSP1000 GFK V2A

GTIN 4013364152236, Customs tariff No. (EU): 85389099, Gross weight: 16.00 kg, PU: 1.00 unidad(es)


Images

Additional information

Cable HVI power en el tubo autsoportado
longitud 3500 mm PRFV/INOX
Cable HVI power en el tubo autosoportado
Electrodo de dispersión aislado
resistente a la alta tensión para mantener
la distancia de separación de partes
con conductividad eléctrica según la
DIN EN 62305-3 (VDE 0185-305-3)
Distancia de separación equivalente s =< 90 cm (en aire)
o s =< 180 cm (material de construcción sólido).
Los tubos autosoportados con el cable HVI power
están dimensionados según el eurocódigo 1
(DIN EN 1991-1-4 + DIN EN 1991-1-4/NA).
Cable HVI power tendido en el tubo autosoportado,
con terminal interno especial y punta captadora Ø10 mm
longitud 1000 mm.
Material del tubo de soporte: poliéster reforzado con fibra de vidrio / INOX
Longitud del tubo de soporte: 3500 mm
Longitud de transporte: 3500 mm
Diámetro Ø del cable: 27 mm
Color del cable: negro ●
Material del cable: Cu
Longitud mín. de pedido : 6 m
Longitud máx. de pedido : 35 m
Máx. longitud libre con punta captadora (montaje en pared): 3500 mm
Máx. velocidad de rachas de viento: (máx. longitud libre 3500 mm, 1x HVI power en el interior) 234 km/h
Normativa: DIN IEC/TS 62561-8 (VDE V 0185-561-8)

Producto DEHN
Tipo: HVI P 27 L6M SR3500 FSP1000 GFK V2A
art. no.: 819430
o equivalente

Certificates

 

Technical data

Material del tubo de soporte poliéster reforzado con fibra de vidrio / INOX
Longitud del tubo de soporte 3500 mm
Longitud de transporte 3500 mm
Diámetro Ø del cable 27 mm
Color del cable negro ●
Material del cable Cu
Longitud mín. de pedido 6 m
Longitud máx. de pedido 35 m
Apropiado para el tendido al exterior del tubo no
Máx. longitud libre con punta captadora (montaje en pared) 3500 mm
Normativa DIN IEC/TS 62561-8 (VDE V 0185-561-8)

Product 819430 was added to Notepad.

Product 819430 was added to the cart.


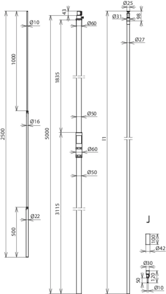
Cable HVI power en el tubo autosoportado con varilla captadora

Tubo de soporte con terminal interno y elemento de resorte PA con compensación de potencial.
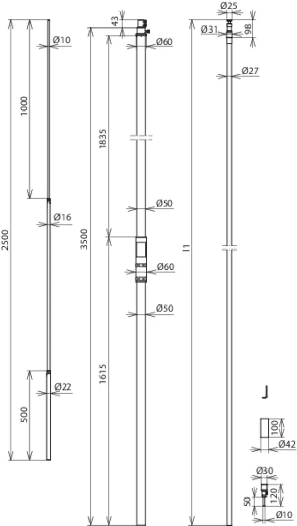
Punta captadora en INOX Ø22 / 16 / 10 mm, longitud 2500 mm.

2 Products

Part No. 819431 HVI P 27 L6M SR3500 FS2500 GFK V2A

GTIN 4013364155442, Customs tariff No. (EU): 85389099, Gross weight: 17.60 kg, PU: 1.00 unidad(es)


Images

Additional information

Cable HVI power en el tubo autsoportado
con varilla captadora, longitud 3500 mm PRFV/INOX
Cable HVI power en el tubo autosoportado
Electrodo de dispersión aislado
resistente a la alta tensión para mantener
la distancia de separación de partes
con conductividad eléctrica según
DIN EN 62305-3 (VDE 0185-305-3)
Distancia de separación equivalente s =< 90 cm (en aire)
o s =< 180 cm (material de construcción sólido).
Los tubos autosoportados con el cable HVI power
están dimensionados según el eurocódigo 1
(DIN EN 1991-1-4 + DIN EN 1991-1-4/NA).
Cable HVI power tendido en el tubo autosoportado,
con terminal interno especial y varilla captadora Ø22/16/10 mm
longitud 2500 mm
Material del tubo de soporte: poliéster reforzado con fibra de vidrio / INOX
Longitud del tubo de soporte: 3500 mm
Longitud de transporte: 3500 mm
Diámetro Ø del cable: 27 mm
Color del cable: negro ●
Material del cable: Cu
Longitud mín. de pedido : 6 m
Longitud máx. de pedido : 35 m
Máx. longitud libre con punta captadora (montaje en pared): 5000 mm
Máx. velocidad de rachas de viento: (máx. longitud libre 5000 mm, 1x HVI power en el interior) 163 km/h
Normativa: DIN IEC/TS 62561-8 (VDE V 0185-561-8)

Producto DEHN
Tipo: HVI P 27 L6M SR3500 FS2500 GFK V2A
art. no.: 819431
o equivalente

Certificates

 

Technical data

Material del tubo de soporte poliéster reforzado con fibra de vidrio / INOX
Longitud del tubo de soporte 3500 mm
Longitud de transporte 3500 mm
Diámetro Ø del cable 27 mm
Color del cable negro ●
Material del cable Cu
Longitud mín. de pedido 6 m
Longitud máx. de pedido 35 m
Apropiado para el tendido al exterior del tubo no
Máx. longitud libre con punta captadora (montaje en pared) 5000 mm
Normativa DIN IEC/TS 62561-8 (VDE V 0185-561-8)

Product 819431 was added to Notepad.

Product 819431 was added to the cart.

Part No. 819433 HVI P 27 L6M SR5000 FS2500 GFK V2A

GTIN 4013364155459, Customs tariff No. (EU): 85389099, Gross weight: 21.60 kg, PU: 1.00 unidad(es)


Images

Additional information

Cable HVI power en el tubo autsoportado
con varilla captadora, longitud 5000 mm PRFV/INOX
Cable HVI power en el tubo autosoportado
Electrodo de dispersión aislado
resistente a la alta tensión para mantener
la distancia de separación de partes
con conductividad eléctrica según la
DIN EN 62305-3 (VDE 0185-305-3)
Distancia de separación equivalente s =< 90 cm (en aire)
o s =< 180 cm (material de construcción sólido).
Los tubos autosoportados con el cable HVI power
están dimensionados según el eurocódigo 1
(DIN EN 1991-1-4 + DIN EN 1991-1-4/NA).
Cable HVI power tendido en el tubo autosoportado,
con terminal interno especial y varilla captadora Ø22/16/10 mm
longitud 2500 mm
Material del tubo de soporte: poliéster reforzado con fibra de vidrio / INOX
Longitud del tubo de soporte: 5000 mm
Longitud de transporte: 5000 mm
Diámetro Ø del cable: 27 mm
Color del cable: negro ●
Material del cable: Cu
Longitud mín. de pedido : 6 m
Longitud máx. de pedido : 35 m
Máx. longitud libre con punta captadora (montaje en pared): 5500 mm
Máx. velocidad de rachas de viento: (máx. longitud libre 5500 mm, 1x HVI power en el interior) 159 km/h
Normativa: DIN IEC/TS 62561-8 (VDE V 0185-561-8)

Producto DEHN
Tipo: HVI P 27 L6M SR5000 FS2500 GFK V2A
art. no.: 819433
o equivalente

Certificates

 

Technical data

Material del tubo de soporte poliéster reforzado con fibra de vidrio / INOX
Longitud del tubo de soporte 5000 mm
Longitud de transporte 5000 mm
Diámetro Ø del cable 27 mm
Color del cable negro ●
Material del cable Cu
Longitud mín. de pedido 6 m
Longitud máx. de pedido 35 m
Apropiado para el tendido al exterior del tubo no
Máx. longitud libre con punta captadora (montaje en pared) 5500 mm
Normativa DIN IEC/TS 62561-8 (VDE V 0185-561-8)

Product 819433 was added to Notepad.

Product 819433 was added to the cart.


back to top