DEHNcon-H
:quality(98)/www.dehn-international.com/store/f/59763726/HDVORSCHAU/819251a1.jpg)
:quality(98)/www.dehn-international.com/store/f/59763726/HDVORSCHAU/819251a1.jpg)
– Nouveau système pour dispositif de capture séparé des installations d’envoi/réception (antennes paraboles, terrestres) ou des bâtiments complets ou parties de bâtiments
– Version adaptée visuellement par la pose intérieure de conducteur HVI light dans un tube support, dimensions réduites des tubes supports (tube alu 40x5 mm) avec poids léger de l’ensemble de la construction, également pour le montage sur des tubes d’antennes existants
– La terminaison d’extrémité interne sort à l’extrémité inférieure du tube support avec une bande flexible en INOX pour le raccordement à la liaison équipotentielle
– Mise à la terre isolée résistante aux hautes tensions pour respecter la distance de séparation par rapport aux pièces conductrices selon DIN EN 62305-3 (VDE 0185-305-3)
– Distance de séparation équivalente s ≤ 45 cm (à l’air) ou s ≤ 90 cm (matériau solide).
– Tube support avec tige isolante en matière plastique à renfort de verre (PRV) tuyau Ø30 mm
– Facteur de matériel km = 0,7
– Couleur gris clair, résistante aux UV
Le conducteur HVI light satisfait les exigences de la norme DIN IEC/TS 62561-8 (VDE V 0185-561-8).
Details
:quality(98)/www.dehn-international.com/store/f/59763727/HDVORSCHAU/819251a9_16-9.jpg)
:quality(98)/www.dehn-international.com/store/f/59763727/HDVORSCHAU/819251a9_16-9.jpg)
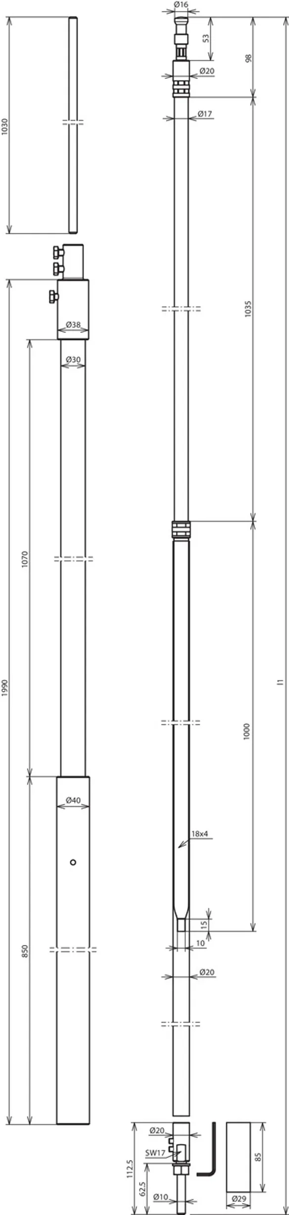
Part No. 819255 HVI LI 20 L6M SR1990 FSP500 GFK AL V2A
GTIN 4013364255371, Customs tariff No. (EU): 85389099, Gross weight: 6.84 kg, PU: 1.00 pièce(s)
PredecessorTechnical data
Matériau - tube support | PRV / Al |
Longueur - tube support | 1990 mm |
Longueur - pointe captrice | 500 mm |
Matériau - conducteur | Cu |
Distance de séparation équivalente s (dans l'air) | ≤ 45 cm |
Commande min. | 6 m |
Vitesse du vent/rafales max. | (longueur libre max. 1890 mm, 1x HVI light intérieur) 240 km/h |
Longueur libre max. | 1890 mm |
Longueur de serrage min. | 600 mm |
Norme | DIN IEC/TS 62561-8 (VDE V 0185-561-8) |
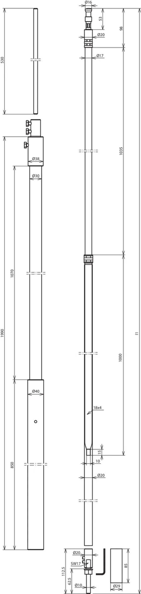
Part No. 819256 HVI LI 20 L6M SR1990 FSP1000 GFK AL V2A
GTIN 4013364255388, Customs tariff No. (EU): 85389099, Gross weight: 7.14 kg, PU: 1.00 pièce(s)
PredecessorTechnical data
Matériau - tube support | PRV / Al |
Longueur - tube support | 1990 mm |
Longueur - pointe captrice | 1000 mm |
Matériau - conducteur | Cu |
Distance de séparation équivalente s (dans l'air) | ≤ 45 cm |
Commande min. | 6 m |
Vitesse du vent/rafales max. | (longueur libre max. 2390 mm, 1x HVI light intérieur) 200 km/h |
Longueur libre max. | 2390 mm |
Longueur de serrage min. | 600 mm |
Norme | DIN IEC/TS 62561-8 (VDE V 0185-561-8) |
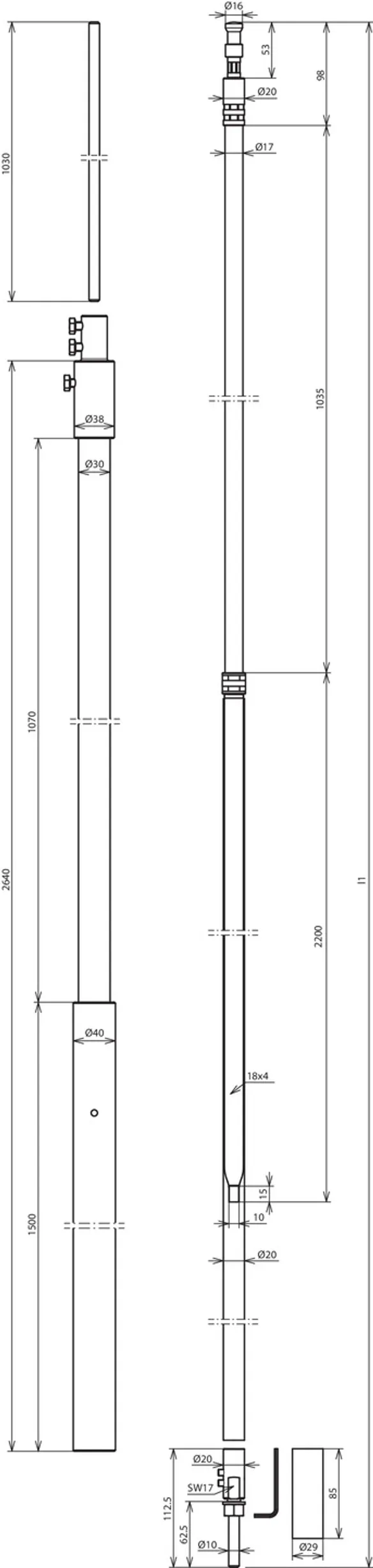
Part No. 819257 HVI LI 20 L6M SR2640 FSP500 GFK AL V2A
GTIN 4013364255395, Customs tariff No. (EU): 85389099, Gross weight: 7.79 kg, PU: 1.00 pièce(s)
PredecessorTechnical data
Matériau - tube support | PRV / Al |
Longueur - tube support | 2640 mm |
Longueur - pointe captrice | 500 mm |
Matériau - conducteur | Cu |
Distance de séparation équivalente s (dans l'air) | ≤ 45 cm |
Commande min. | 6 m |
Vitesse du vent/rafales max. | (longueur libre max. 2540 mm, 1x HVI light intérieur) 240 km/h |
Longueur libre max. | 2540 mm |
Longueur de serrage min. | 600 mm |
Norme | DIN IEC/TS 62561-8 (VDE V 0185-561-8) |
Part No. 819258 HVI LI 20 L6M SR2640 FSP1000 GFK AL V2A
GTIN 4013364255418, Customs tariff No. (EU): 85389099, Gross weight: 8.09 kg, PU: 1.00 pièce(s)
PredecessorTechnical data
Matériau - tube support | PRV / Al |
Longueur - tube support | 2640 mm |
Longueur - pointe captrice | 1000 mm |
Matériau - conducteur | Cu |
Distance de séparation équivalente s (dans l'air) | ≤ 45 cm |
Commande min. | 6 m |
Vitesse du vent/rafales max. | (longueur libre max. 3040 mm, 1x HVI light intérieur) 201 km/h |
Longueur libre max. | 3040 mm |
Longueur de serrage min. | 600 mm |
Norme | DIN IEC/TS 62561-8 (VDE V 0185-561-8) |