Liaison équipotentielle aux systèmes de support de câbles pour les zones Ex Zone 2/22

Le système de liaison équipotentielle est monté sur des systèmes de chemins de câbles. Au moyen de plaques de liaison équipotentielles et de colliers de serrage et d‘un conducteur de liaison équipotentielle à anneau fermé, toutes les parties conductrices du système et tous les équipements électriques sont intégrés dans la liaison équipotentielle Ex. Ainsi, une connexion continue est assurée.

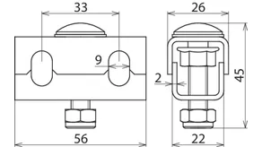
Borne PA pour les chemins de câbles et la carte PA

Borne PA (PAK)

  • Connexion uniquement avec un conducteur de liaison équipotentielle en anneau (câble en cuivre étamé)
  • Pour le montage sur le chemin de câbles perforé ou sur la plaque d‘équipotentialité (PAP 1 / PAP 2)
  • Pince PA à monter env. tous les 0,5 m

6 Products

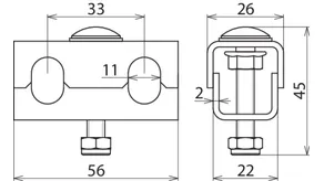
Part No. 306200 PAK 35 M8 EX KB ER

GTIN 4013364327368, Customs tariff No. (EU): 85359000, Gross weight: 113.40 g, PU: 50.00 pièce(s)


Images

Additional information

Borne de liaison équipotentielle pour les systèmes de support de câbles
Borne de liaison équipotentielle pour l'installation
un conducteur d'égalisation de potentiel de sonnerie
pour la fixation comme une seule pince sur le côté
chemin de câbles perforé, chemin de câbles
ou câble de grande portée avec perforations
et pour la fixation à la plaque PA PAP1-EX-KB-ER
ou PAP2-EX-KB-ER
peut être utilisé pour Ex-zone 2/22

Matériau: INOX
Zone de serrage Conducteur d'anneau PA: 35 mm², Cu/gal Sn
Matériau n°: 1.4301
Zone-EX: 2/22

produit : DEHN
Type: PAK 35 M8 EX KB ER
Référence: 306200
ou équivalent

Certificates

 

Technical data

Matériau INOX
Raccordement PAP 1 EX KB ER ou PAP 2 EX KB ER ou câble ou télédistribution longue portée
Zone de serrage Conducteur d'anneau PA 35 mm², Cu /gal Sn
Vis M8 x 40 mm
Matériau - vis/écrou INOX
Matériau n° 1.4301
Zone-EX 2/22
Courant de court-circuit AC (50 Hz / 5 s) 1,5 kA
Courant de court-circuit DC (5 s) 250 A

Product 306200 was added to Notepad.

Product 306200 was added to the cart.

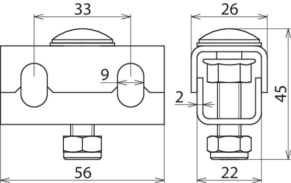
Part No. 306201 PAK 50 M8 EX KB ER

GTIN 4013364327375, Customs tariff No. (EU): 85359000, Gross weight: 128.80 g, PU: 50.00 pièce(s)


Images

Additional information

Borne de liaison équipotentielle pour les systèmes de support de câbles
Borne de liaison équipotentielle pour l'installation
un conducteur d'égalisation de potentiel de sonnerie
pour la fixation comme une seule pince sur le côté
chemin de câbles perforé, chemin de câbles
ou câble de grande portée avec perforations
et pour la fixation à la plaque PA PAP1-EX-KB-ER
ou PAP2-EX-KB-ER
peut être utilisé pour Ex-zone 2/22
Matériau: INOX
Zone de serrage Conducteur d'anneau PA: 50 mm², Cu/gal Sn
Matériau n°: 1.4301
Zone-EX: 2/22

produit : DEHN
Type: PAK 50 M8 EX KB ER
Référence: 306201
ou équivalent

Certificates

 

Technical data

Matériau INOX
Raccordement PAP 1 EX KB ER ou PAP 2 EX KB ER ou câble ou télédistribution longue portée
Zone de serrage Conducteur d'anneau PA 50 mm², Cu /gal Sn
Vis M8 x 40 mm
Matériau - vis/écrou INOX
Matériau n° 1.4301
Zone-EX 2/22

Product 306201 was added to Notepad.

Product 306201 was added to the cart.

Part No. 306202 PAK 70 M8 EX KB ER

GTIN 4013364327351, Customs tariff No. (EU): 85359000, Gross weight: 110.00 g, PU: 50.00 pièce(s)


Images

Additional information

Borne de liaison équipotentielle pour les systèmes de support de câbles
Borne de liaison équipotentielle pour l'installation
un conducteur d'égalisation de potentiel de sonnerie
pour la fixation comme une seule pince sur le côté
chemin de câbles perforé, chemin de câbles
ou câble de grande portée avec perforations
et pour la fixation à la plaque PA PAP1-EX-KB-ER
ou PAP2-EX-KB-ER
peut être utilisé pour Ex-zone 2/22
Matériau: INOX
Zone de serrage Conducteur d'anneau PA: 70 mm², Cu/gal Sn
Matériau n°: 1.4301
Zone-EX: 2/22

produit : DEHN
Type: PAK 70 M8 EX KB ER
Référence: 306202
ou équivalent

Certificates

 

Technical data

Matériau INOX
Raccordement PAP 1 EX KB ER ou PAP 2 EX KB ER ou câble ou télédistribution longue portée
Zone de serrage Conducteur d'anneau PA 70 mm², Cu /gal Sn
Vis M8 x 40 mm
Matériau - vis/écrou INOX
Matériau n° 1.4301
Zone-EX 2/22
Courant de court-circuit AC (50 Hz / 5 s) 1,5 kA
Courant de court-circuit DC (5 s) 250 A

Product 306202 was added to Notepad.

Product 306202 was added to the cart.

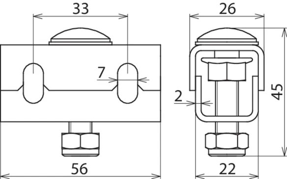
Part No. 306204 PAK 35 M6 EX KB ER

GTIN 4013364336766, Customs tariff No. (EU): 85359000, Gross weight: 98.20 g, PU: 50.00 pièce(s)


Images

Additional information

Borne de liaison équipotentielle pour les systèmes de support de câbles
Borne de liaison équipotentielle pour l'installation
un conducteur d'égalisation de potentiel de sonnerie
pour la fixation comme une seule pince sur le côté
chemin de câbles perforé, chemin de câbles
ou câble de grande portée avec perforations
et pour la fixation à la plaque PA PAP1-EX-KB-ER
ou PAP2-EX-KB-ER
peut être utilisé pour Ex-zone 2/22
Matériau: INOX
Zone de serrage Conducteur d'anneau PA: 35 mm², Cu/gal Sn
Matériau n°: 1.4301
Zone-EX: 2/22

produit : DEHN
Type: PAK 35 M6 EX KB ER
Référence: 306204
ou équivalent

Certificates

 

Technical data

Matériau INOX
Raccordement PAP 1 EX KB ER ou PAP 2 EX KB ER ou câble ou télédistribution longue portée
Zone de serrage Conducteur d'anneau PA 35 mm², Cu /gal Sn
Vis M6 x 35 mm
Matériau - vis/écrou INOX
Matériau n° 1.4301
Zone-EX 2/22

Product 306204 was added to Notepad.

Product 306204 was added to the cart.

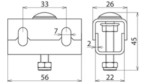
Part No. 306205 PAK 50 M6 EX KB ER

GTIN 4013364336773, Customs tariff No. (EU): 85359000, Gross weight: 95.60 g, PU: 50.00 pièce(s)


Images

Additional information

Borne de liaison équipotentielle pour les systèmes de support de câbles
Borne de liaison équipotentielle pour l'installation
un conducteur d'égalisation de potentiel de sonnerie
pour la fixation comme une seule pince sur le côté
chemin de câbles perforé, chemin de câbles
ou câble de grande portée avec perforations
et pour la fixation à la plaque PA PAP1-EX-KB-ER
ou PAP2-EX-KB-ER
peut être utilisé pour Ex-zone 2/22
Matériau: INOX
Zone de serrage Conducteur d'anneau PA: 50 mm², Cu/gal Sn
Matériau n°: 1.4301
Zone-EX: 2/22

produit : DEHN
Type: PAK 50 M6 EX KB ER
Référence: 306205
ou équivalent

Certificates

 

Technical data

Matériau INOX
Raccordement PAP 1 EX KB ER ou PAP 2 EX KB ER ou câble ou télédistribution longue portée
Zone de serrage Conducteur d'anneau PA 50 mm², Cu /gal Sn
Vis M6 x 35 mm
Matériau - vis/écrou INOX
Matériau n° 1.4301
Zone-EX 2/22

Product 306205 was added to Notepad.

Product 306205 was added to the cart.

Part No. 306206 PAK 70 M6 EX KB ER

GTIN 4013364336780, Customs tariff No. (EU): 85359000, Gross weight: 94.20 g, PU: 50.00 pièce(s)


Images

Additional information

Borne de liaison équipotentielle pour les systèmes de support de câbles
Borne de liaison équipotentielle pour l'installation
un conducteur d'égalisation de potentiel de sonnerie
pour la fixation comme une seule pince sur le côté
chemin de câbles perforé, chemin de câbles
ou câble de grande portée avec perforations
et pour la fixation à la plaque PA PAP1-EX-KB-ER
ou PAP2-EX-KB-ER
peut être utilisé pour Ex-zone 2/22
Matériau: INOX
Zone de serrage Conducteur d'anneau PA: 70 mm², Cu/gal Sn
Matériau n°: 1.4301
Zone-EX: 2/22

produit : DEHN
Type: PAK 70 M6 EX KB ER
Référence: 306206
ou équivalent

Certificates

 

Technical data

Matériau INOX
Raccordement PAP 1 EX KB ER ou PAP 2 EX KB ER ou câble ou télédistribution longue portée
Zone de serrage Conducteur d'anneau PA 70 mm², Cu /gal Sn
Vis M6 x 35 mm
Matériau - vis/écrou INOX
Matériau n° 1.4301
Zone-EX 2/22

Product 306206 was added to Notepad.

Product 306206 was added to the cart.


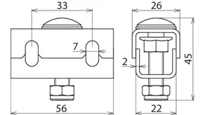
Pince PA pour rails de grille

Pince PA (PAK) piste de grille

  • Raccordement uniquement avec conducteur d‘équipotentialité en anneau 35 mm², référence 832 838 (câble en cuivre étamé)
  • Pour le montage sur le chemin de câbles ou sur la plaque PA (PAP 1 / PAP 2)
  • Pince PA à monter env. tous les 0,5 m

1 Product

Part No. 306203 PAK 35 M8 EX GI ER

GTIN 4013364327382, Customs tariff No. (EU): 85359000, Gross weight: 128.80 g, PU: 50.00 pièce(s)


Images

Additional information

Borne de liaison équipotentielle pour les systèmes de support de câbles
Borne de liaison équipotentielle pour l'installation
un conducteur d'égalisation de potentiel de sonnerie
pour la fixation en tant que terminal unique
du côté du rail de la grille
et pour la fixation à la plaque PA PAP1-EX-GI-ER
ou PAP2-EX-GI-ER
peut être utilisé pour Ex-zone 2/22

Matériau: INOX
Zone de serrage Conducteur d'anneau PA: 35 mm², Cu/gal Sn
Matériau n°: 1.4301
Zone-EX: 2/22

produit : DEHN
Type: PAK 35 M8 EX GI ER
Référence: 306203
ou équivalent

Certificates

 

Technical data

Matériau INOX
Raccordement PAP 1 EX GI ER ou PAP 2 EX GI ER ou rail de réseau
Zone de serrage Conducteur d'anneau PA 35 mm², Cu/gal Sn
Vis M8 x 40 mm
Matériau - vis/écrou INOX
Matériau n° 1.4301
Zone-EX 2/22
Courant de court-circuit AC (50 Hz / 5 s) 1,5 kA
Courant de court-circuit DC (5 s) 250 A

Product 306203 was added to Notepad.

Product 306203 was added to the cart.


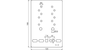
Plaque PA pour téléphériques

Carte PA (PAP) pour chemin de câbles

  • Logement de borne PA (PAK) pour conducteur de compensation de potentiel en anneau (câble en cuivre étamé)
  • Fixation sur le côté perforé du chemin de câbles

2 Products

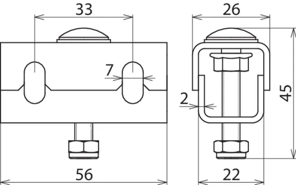
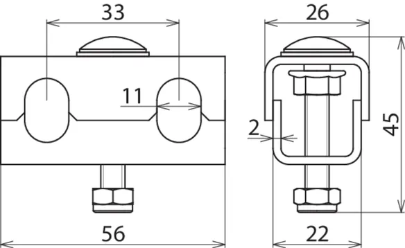
Part No. 306210 PAP 1 EX KB ER

GTIN 4013364327399, Customs tariff No. (EU): 85359000, Gross weight: 374.00 g, PU: 15.00 pièce(s)


Images

Additional information

Plaque d'équipotentialité pour systèmes de support de câbles
Plaque de liaison équipotentielle pour connexion
sur le côté du chemin de câbles perforé, chemin de câbles
ou câble de grande portée avec perforations
pour le montage du terminal PA pour les chemins de câbles (KB)
peut être utilisé pour Ex-zone 2/22
Matériau: INOX
Trous de connexion pour conducteur PA avec cosse de câble: 3x Ø11 mm, 3x Ø9 mm, serre-câble 3x serre-câble M6
Zone-EX: 2/22

produit : DEHN
Type: PAP 1 EX KB ER
Référence: 306210
ou équivalent

Certificates

 

Technical data

Matériau INOX
Dimensions 120 x 180 mm
Trous de connexion pour conducteur PA avec cosse de câble 3x Ø11 mm, 3x Ø9 mm, serre-câble 3x serre-câble M6
Options de connexion pour les terminaux PA PAK ... EX KB ER
Trous de montage pour le téléphérique [4x] 9 x 20 / [1x] 9 x 9 mm
Zone-EX 2/22
Courant de court-circuit AC (50 Hz / 5 s) 1,5 kA
Courant de court-circuit DC (5 s) 250 A

Product 306210 was added to Notepad.

Product 306210 was added to the cart.

Part No. 306211 PAP 2 EX KB ER

GTIN 4013364327405, Customs tariff No. (EU): 85359000, Gross weight: 401.00 g, PU: 15.00 pièce(s)


Images

Additional information

Plaque d'équipotentialité pour systèmes de support de câbles
Plaque de liaison équipotentielle pour connexion
sur le côté du chemin de câbles perforé, chemin de câbles
ou câble de grande portée avec perforations
pour le montage du terminal PA pour les chemins de câbles (KB)
peut être utilisé pour Ex-zone 2/22
Matériau: INOX
Trous de connexion pour conducteur PA avec cosse de câble: 2x Ø11 mm, 12x Ø7 mm
Zone-EX: 2/22

produit : DEHN
Type: PAP 2 EX KB ER
Référence: 306211
ou équivalent

Certificates

 

Technical data

Matériau INOX
Dimensions 120 x 195 mm
Trous de connexion pour conducteur PA avec cosse de câble 2x Ø11 mm, 12x Ø7 mm
Options de connexion pour les terminaux PA PAK ... EX KB ER
Trous de montage pour le téléphérique [4x] 9 x 20 / [1x] 9 x 9 mm
Zone-EX 2/22
Courant de court-circuit AC (50 Hz / 5 s) 1,5 kA
Courant de court-circuit DC (5 s) 250 A

Product 306211 was added to Notepad.

Product 306211 was added to the cart.


Plaque PA pour les rails de la grille

Plaque PA (PAP) de grille

  • Logement de borne PA (PAK) pour conducteur de compensation de potentiel en anneau (câble en cuivre étamé)
  • Fixation au rail de la grille

2 Products

Part No. 306212 PAP 1 EX GI ER

GTIN 4013364327412, Customs tariff No. (EU): 85359000, Gross weight: 384.00 g, PU: 15.00 pièce(s)


Images

Additional information

Plaque d'équipotentialité pour systèmes de support de câbles
Plaque de liaison équipotentielle pour connexion
aux chemins de fer de la grille et
pour le montage de la grille de rail de réseau PA (GI)
peut être utilisé pour Ex-zone 2/22
Matériau: INOX
Trous de connexion pour conducteur PA avec cosse de câble: 3x Ø11 mm, 3x Ø9 mm, serre-câble 3x serre-câble M6
Zone-EX: 2/22

produit : DEHN
Type: PAP 1 EX GI ER
Référence: 306212
ou équivalent

Certificates

 

Technical data

Matériau INOX
Dimensions 120 x 180 mm
Trous de connexion pour conducteur PA avec cosse de câble 3x Ø11 mm, 3x Ø9 mm, serre-câble 3x serre-câble M6
Options de connexion pour les terminaux PA PAK ... EX KB ER
Trous de montage pour le rail de la grille Piste de quadrillage [4x] 9 x 20 / [1x] 9 x 9 mm
Zone-EX 2/22
Courant de court-circuit AC (50 Hz / 5 s) 1,5 kA
Courant de court-circuit DC (5 s) 250 A

Product 306212 was added to Notepad.

Product 306212 was added to the cart.

Part No. 306213 PAP 2 EX GI ER

GTIN 4013364327429, Customs tariff No. (EU): 85359000, Gross weight: 391.50 g, PU: 15.00 pièce(s)


Images

Additional information

Plaque d'équipotentialité
Plaque de liaison équipotentielle pour connexion
aux chemins de fer de la grille et
pour le montage de la grille de rail de réseau PA (GI)
peut être utilisé pour Ex-zone 2/22
Matériau: INOX
Trous de connexion pour conducteur PA avec cosse de câble: 2x Ø11 mm, 12x Ø7 mm
Zone-EX: 2/22

produit : DEHN
Type: PAP 2 EX GI ER
Référence: 306213
ou équivalent

Certificates

 

Technical data

Matériau INOX
Dimensions 120 x 195 mm
Trous de connexion pour conducteur PA avec cosse de câble 2x Ø11 mm, 12x Ø7 mm
Options de connexion pour les terminaux PA PAK ... EX KB ER
Trous de montage pour le rail de la grille [4x] 9 x 20 / [1x] 9 x 9 mm
Zone-EX 2/22
Courant de court-circuit AC (50 Hz / 5 s) 1,5 kA
Courant de court-circuit DC (5 s) 250 A

Product 306213 was added to Notepad.

Product 306213 was added to the cart.


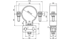
Colliers PA

Collier de serrage PA (SBD 60 PAK 35)

  • Raccordement uniquement avec conducteur de compensation de potentiel en anneau 35 mm2, Référence 832 838 (câble en cuivre étamé)
  • Fixation au tuyau circulaire DN50 (60 mm)
  • Borne PA à monter env. tous les 0,5 m

1 Product

Part No. 306220 SBD 60 PAK 35 EX ER

GTIN 4013364327436, Customs tariff No. (EU): 85359000, Gross weight: 408.00 g, PU: 50.00 pièce(s)


Images

Additional information

Pince de liaison équipotentielle pour Kabeltragsyteme
Collier de serrage d'égalisation du potentiel
avec pince pour la pose
un conducteur d'égalisation de potentiel de sonnerie
sur tube circulaire DN50
peut être utilisé pour Ex-zone 2/22
Matériau: INOX
Zone de serrage Conducteur d'anneau PA: 35 mm², Cu/gal Sn
Zone-EX: 2/22

produit : DEHN
Type: SBD 60 PAK 35 EX ER
Référence: 306220
ou équivalent

Certificates

 

Technical data

Matériau INOX
Dimensions Ø60 mm
Zone de serrage Conducteur d'anneau PA 35 mm², Cu /gal Sn
Zone-EX 2/22

Product 306220 was added to Notepad.

Product 306220 was added to the cart.


Serre-câble

Serre-câble de décharge de traction pour l’installation d’un câble en cuivre sur la plaque de compensation de potentiel PAP1 EX KB ER ou PAP1 EX GI ER.

2 Products

Part No. 306230 MPE S 35 ER

GTIN 4013364327443, Customs tariff No. (EU): 85359000, Gross weight: 10.60 g, PU: 10.00 pièce(s)


Images

Additional information

Serre-câble
Serre-câble pour réducteur de tension
dans la pose de
Corde de cuivre à la
Plaque de compensation potentielle
PAP1-EX-KB-ER ou PAP1-EX-GI-ER
Matériau: INOX
Zone de serrage corde de cuivre: 35 mm²
Zone-EX: 2/22

produit : DEHN
Type: MPE S 35 ER
Référence: 306230
ou équivalent

Certificates

 

Technical data

Matériau INOX
Raccordement PAP1 EX KB ER bzw. PAP1 EX GI ER
Zone de serrage corde de cuivre 35 mm²
Zone-EX 2/22

Product 306230 was added to Notepad.

Product 306230 was added to the cart.

Part No. 306231 MPE S 50/70 ER

GTIN 4013364327450, Customs tariff No. (EU): 85359000, Gross weight: 12.40 g, PU: 10.00 pièce(s)


Images

Additional information

Serre-câble
Serre-câble pour réducteur de tension
dans la pose de
Corde de cuivre à la
Plaque de compensation potentielle
PAP1-EX-KB-ER ou PAP1-EX-GI-ER
Matériau: INOX
Zone de serrage corde de cuivre: 50 ou 70 mm²
Zone-EX: 2/22

produit : DEHN
Type: MPE S 50/70 ER
Référence: 306231
ou équivalent

Certificates

 

Technical data

Matériau INOX
Raccordement PAP1 EX KB ER bzw. PAP1 EX GI ER
Zone de serrage corde de cuivre 50 ou 70 mm²
Zone-EX 2/22

Product 306231 was added to Notepad.

Product 306231 was added to the cart.


Ecrou

Ecrou de blocage pour serre-câbles (MPE S 35 ER et MPE S 50/70 ER).

1 Product

Part No. 306240 SM SS M6 ER

GTIN 4013364327467, Customs tariff No. (EU): 85359000, Gross weight: 2.25 g, PU: 20.00 pièce(s)


Images

Additional information

Vis M6 Niro
Verrouillage à vis M6 contre
desserrage ou desserrage involontaire
en raison des vibrations (auto-bloquant)
pour serre-câble MPE S 35 ER ou MPE S 50/70 ER
Matériau: INOX
Zone-EX: 2/22

produit : DEHN
Type: SM SS M6 ER
Référence: 306240
ou équivalent

Certificates

 

Technical data

Matériau INOX
Version M6
Zone-EX 2/22

Product 306240 was added to Notepad.

Product 306240 was added to the cart.


Écrou hexagonal

Ecrou hexagonal pour serre-câbles (MPE S 35 ER et MPE S 50/70 ER).

1 Product

Part No. 505901 SKM M6 DIN 934 V2A

GTIN 4013364019355, Customs tariff No. (EU): 73181639, Gross weight: 2.10 g, PU: 1.00 pièce(s)


Images

Additional information

Vis M6 Niro
Verrouillage à vis M6 contre
desserrage ou desserrage involontaire
en raison des vibrations (auto-bloquant)
pour serre-câble MPE S 35 ER ou MPE S 50/70 ER
Matériau: INOX

produit : DEHN
Type: SKM M6 DIN 934 V2A
Référence: 505901
ou équivalent

Certificates

 

Technical data

Matériau INOX
Version M6

Product 505901 was added to Notepad.

Product 505901 was added to the cart.


Rondelle

Anneau de ressort pour serre-câbles (MPE S 35 ER et MPE S 50/70 ER).

1 Product

Part No. 524906 FR A6 V2A

GTIN 4013364004009, Customs tariff No. (EU): 73182100, Gross weight: 1.00 g, PU: 1.00 pièce(s)


Images

Additional information

Vis M6 Niro
Verrouillage à vis M6 contre
desserrage ou desserrage involontaire
en raison des vibrations (auto-bloquant)
pour serre-câble MPE S 35 ER ou MPE S 50/70 ER
Matériau: INOX

produit : DEHN
Type: FR A6 V2A
Référence: 524906
ou équivalent

Certificates

 

Technical data

Matériau INOX
Version A6

Product 524906 was added to Notepad.

Product 524906 was added to the cart.


back to top