Parallel Connectors for Ex Zones 1/21, 2/22

Parallel connector with spring washer for connecting round conductors/cables in Ex zones 1/21, 2/22. The clamps are secured against self-loosening in accordance with DIN EN 62305-3 Supplement 2.

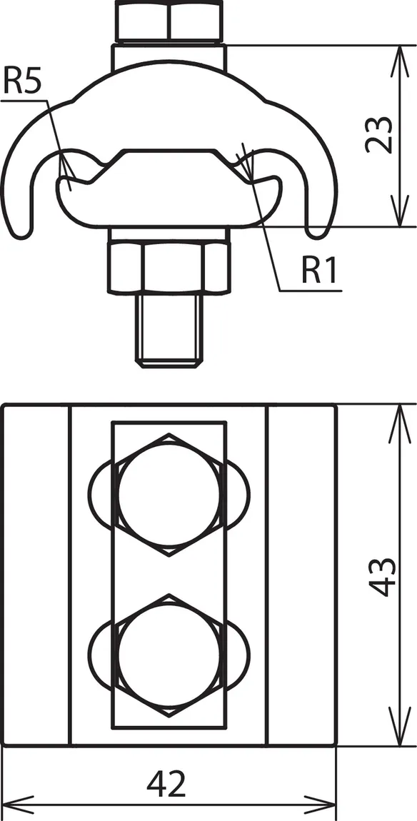
For equal and different cable diameters, small

1 Product

Part No. 306105 PV 5.12.5 SKM8X45 GSG CUGALSN

GTIN 4013364269125, Customs tariff No. (EU): 85369095, Gross weight: 250.00 g, PU: 1.00 pc(s)


Images

Additional information

Parallel connector for different cable diameters, small, Cu/gal Sn
Parallel connector for establishing an equipotential bonding system in potentially explosive atmospheres. Tested for non-sparking use in potentially explosive atmospheres in Ex zone 1 and 2 (gases of explosion group IIC) and Ex zone 21 and 22 (dust). Small version for different cable diameters, with spring washer and two screws which are secured against working loose according to Supplement 2 of DIN EN 62305-3.
Material of clamp: Cu/gal Sn
Clamping range Rd / Rd: 5-12.5 mm
Clamping range (stranded / cable): 16-95 mm2
Standard: based on EN 62561-1

Brand: DEHN
Type: PV 5.12.5 SKM8X45 GSG CUGALSN
Part No.: 306105
or equivalent.

Certificates

 

Technical data

Material of clamp Cu/gal Sn
Clamping range Rd / Rd 5-12.5 mm
Clamping range (stranded / cable) 16-95 mm2
Lightning impulse current (10/350 μs) (non-sparking) 25 kA
Short-circuit current (50 Hz) (0.1 s) (non-sparking) 1.65 kA
Standard based on EN 62561-1
*) For exact classification, see test certificate.

Product 306105 was added to Notepad.

Product 306105 was added to the cart.


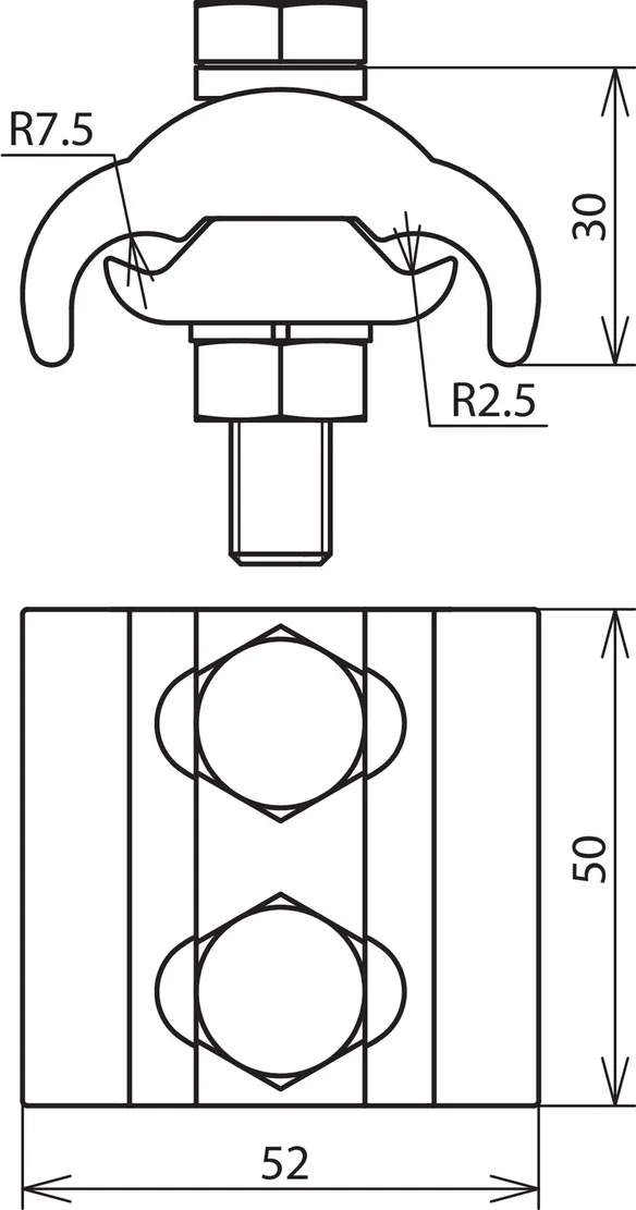
For equal and different cable diameters, large

1 Product

Part No. 306106 PV 5.16 SKM10X50 GSG CUGALSN

GTIN 4013364269149, Customs tariff No. (EU): 85369095, Gross weight: 424.40 g, PU: 1.00 pc(s)


Images

Additional information

Parallel connector for different cable diameters, large, Cu/gal Sn
Parallel connector for establishing an equipotential bonding system in potentially explosive atmospheres. Tested for non-sparking use in potentially explosive atmospheres in Ex zone 1 and 2 (gases of explosion group IIC) and Ex zone 21 and 22 (dust). Large version for different cable diameters, with spring washer and two screws which are secured against working loose according to Supplement 2 of DIN EN 62305-3.
Material of clamp: Cu/gal Sn
Clamping range Rd / Rd: 5-16 mm
Clamping range (stranded / cable): 16-150 mm2
Standard: based on EN 62561-1

Brand: DEHN
Type: PV 5.16 SKM10X50 GSG CUGALSN
Part No.: 306106
or equivalent.

Certificates

 

Technical data

Material of clamp Cu/gal Sn
Clamping range Rd / Rd 5-16 mm
Clamping range (stranded / cable) 16-150 mm2
Lightning impulse current (10/350 μs) (non-sparking) 25 kA
Short-circuit current (50 Hz) (0.1 s) (non-sparking) 1.65 kA
Standard based on EN 62561-1
*) For exact classification, see test certificate.

Product 306106 was added to Notepad.

Product 306106 was added to the cart.


back to top