Morsetti SVP per collegamenti fuori e sotto terra

Morsetto SVP per collegamenti a croce ed in parallelo, parte superiore con asola aperta (non è necessario svitare completamente le viti).

Senza piastra intermedia

2 Products

Part No. 308060 SVPK 8.10 8.10 FL30 STTZN

GTIN 4013364066281, Customs tariff No. (EU): 85359000, Gross weight: 139.80 g, PU: 50.00 pz.


Images

Additional information

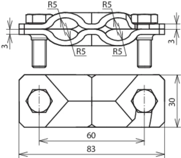
Morsetti SVP per collegamenti fuori e sotto terra senza piastra intermedia Fe/tZn
Morsetto SVP per collegamenti a croce ed in parallelo, parte superiore con asola aperta (non è necessario svitare completamente le viti)
Materiale morsetto: Fe/tZn
Campo di serraggio Td/Td: 8-10 / 8-10 mm
Campo di serraggio Td/Pt: 8-10 / 30 mm
Campo di serraggio Pt/Pt: 30 / 30 mm
Riferimento norma: CEI EN 62561-1

Fabbricato: DEHN
Tipo: SVPK 8.10 8.10 FL30 STTZN
Art.: 308060
o similare.

Certificates

 

Technical data

Materiale morsetto Fe/tZn
Campo di serraggio Td/Td 8-10 / 8-10 mm
Campo di serraggio Td/Pt 8-10 / 30 mm
Campo di serraggio Pt/Pt 30 / 30 mm
Riferimento norma CEI EN 62561-1
*) Per l’attribuzione precisa vedere il certificato di prova.

Product 308060 was added to Notepad.

Product 308060 was added to the cart.

Part No. 308069 SVPK 8.10 8.10 FL30 V4A

GTIN 4013364246720, Customs tariff No. (EU): 85359000, Gross weight: 140.00 g, PU: 50.00 pz.


Images

Additional information

Morsetto SVP senza piastra intermedia INOX (V4A)
Morsetti SVP per collegamenti fuori terra e sotto terra,
a croce e paralleli,
con parte superiore a fessura
(non è necessario togliere le viti).
Materiale morsetto: INOX (V4A)
Campo di serraggio Td/Td: 8-10 / 8-10 mm
Campo di serraggio Td/Pt: 8-10 / 30 mm
Campo di serraggio Pt/Pt: 30 / 30 mm
Riferimento norma: DIN EN 62561-1

Fabbricato: DEHN
Tipo: SVPK 8.10 8.10 FL30 V4A
Art.: 308069
o similare.

Certificates

 

Technical data

Materiale morsetto INOX (V4A)
Campo di serraggio Td/Td 8-10 / 8-10 mm
Campo di serraggio Td/Pt 8-10 / 30 mm
Campo di serraggio Pt/Pt 30 / 30 mm
Riferimento norma DIN EN 62561-1
*) Per l’attribuzione precisa vedere il certificato di prova.

Product 308069 was added to Notepad.

Product 308069 was added to the cart.


back to top